FREE REPAIR MANUALS & LABOR GUIDES 1982-2013 Vehicles
Courtesy of Operation CHARM: Car repair manuals for everyone.

Repair and Diagnosis: Service Precautions





INTRODUCTION: REPAIR INSTRUCTION: PRECAUTION

1. BASIC REPAIR HINT

(a) HINTS ON OPERATIONS









(b) JACKING UP AND SUPPORTING VEHICLE

(1) Care must be taken when jacking up and supporting the vehicle. Be sure to lift and support the vehicle at the proper locations.

(c) PRECOATED PARTS





Text in Illustration





(1) Precoated parts are bolts and nuts that are coated with seal lock adhesive at the factory.

(2) If a precoated part is retightened, loosened or moved in any way, it must be recoated with the specified adhesive.

(3) When reusing a precoated part, clean off the old adhesive and dry the part with compressed air. Then apply new seal lock adhesive appropriately to that part.

(4) Some seal lock agents harden slowly. You may have to wait for the seal lock adhesive to harden.

(d) GASKETS

(1) When necessary, use a sealer on gaskets to prevent leaks.

(e) BOLTS, NUTS AND SCREWS

(1) Carefully follow all the specifications for tightening torque. Always use a torque wrench.

(f) FUSES





Text in Illustration





(1) When inspecting a fuse, check that the wire of the fuse is not broken.

(2) If the wire of a fuse is broken, confirm that there are no shorts in its circuit.

(3) When a fuse is replaced, a fuse with the same amperage rating must be used.





(g) CLIPS

(1) The removal and installation methods of typical clips used for vehicle body parts are shown in the following table.

HINT
If clips are damaged during a procedure, always replace the damaged clips with new ones.









(h) CLAWS

(1) The removal and installation methods of typical claws used for vehicle body parts are shown in the table below.

HINT
If claws are damaged during a procedure, always replace the cap or cover that has damaged claws with a new one.





(i) HINGES, GUIDES, CLAMPS, PINS, ETC.

(1) The removal and installation methods of typical hinges, guides, clamps and pins used for vehicle body parts are shown in the table below.

HINT
If clamps are damaged during a procedure, always replace the cap or cover that has damaged clamps with a new one.





(j) REMOVAL AND INSTALLATION OF VACUUM HOSES

(1) To disconnect a vacuum hose, pull and twist it from the end of the hose. Do not pull it from the middle of the hose as this may damage the hose.





Text in Illustration





(2) When disconnecting vacuum hoses, use tags to identify where they should be reconnected.





(3) After completing any hose related repairs, double-check that the vacuum hoses are properly connected. The label under the hood shows the proper layout.

(4) When using a vacuum gauge, never force the hose onto a connector that is too large. If a hose has been stretched, air may leak. Use a step-down adapter if necessary.

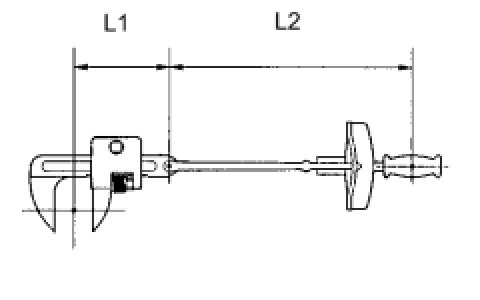
(k) TORQUE WHEN USING TORQUE WRENCH WITH EXTENSION TOOL





(1) Use the formula below to calculate special torque values for situations where SST or an extension tool is combined with a torque wrench.





* Formula

* T' = (L2/(L1 + L2))*T





NOTICE:
If an extension tool or SST is combined with a torque wrench and used to tighten to a torque specification in this manual, the actual torque will be excessive and parts will be damaged.

2. FOR VEHICLES EQUIPPED WITH SRS AIRBAG AND SEAT BELT PRETENSIONER

This vehicle is equipped with a Supplemental Restraint System (SRS).

CAUTION:
* Before performing pre-disposal deployment of any SRS component, review and closely follow all applicable environmental and hazardous material regulations. Pre-disposal deployment may be considered hazardous material treatment.
* Failure to carry out the service operations in the correct sequence could cause the SRS to unexpectedly deploy during servicing and lead to serious injury. Furthermore, if a mistake is made when servicing the SRS, it is possible that the SRS may fail to operate properly. Before servicing (including removal or installation of parts, inspection or replacement), be sure to read the following section carefully.
(a) GENERAL NOTICE

(1) As malfunctions of the SRS are difficult to confirm, the Diagnostic Trouble Codes (DTCs) become the most important source of information when troubleshooting. When troubleshooting the SRS, always check for DTCs before disconnecting the battery.

(2) Work must be started at least 90 seconds after the engine switch is turned off and after the cable is disconnected from the negative (-) battery terminal.

The SRS is equipped with a back-up power source. If work is started within 90 seconds after turning the engine switch off and disconnecting the cable from the negative (-) battery terminal, the SRS may deploy.

When the cable is disconnected from the negative (-) battery terminal, the clock and audio system memory will be cleared. Before starting work, make a note of the settings of each memory system. When work is finished, reset the clock and audio system as before.

CAUTION:
Never use a back-up power source (battery or other) to avoid clearing the system memory. The back-up power source may inadvertently power the SRS and cause it to deploy.

(3) If the vehicle has been involved in a minor collision where the SRS does not deploy, the steering pad, front passenger airbag assembly, knee airbag assembly, front seat side airbag assembly, curtain shield airbag assembly and front seat outer belt assembly should be inspected before further use of the vehicle.

(4) Never use SRS parts from another vehicle. When replacing parts, use new parts.

(5) Before repairs, remove the airbag sensor assemblies if impacts are likely to be applied to the sensor during repairs.

(6) Never disassemble and attempt to repair any airbag sensor assemblies or airbag assemblies.

1 Steering pad

2 Front passenger airbag assembly

3 Knee airbag assembly

4 Seat side airbag assembly

5 Front seat outer belt assembly

(7) Replace the airbag sensor assemblies and the airbag assemblies if: 1) damage has occurred from being dropped, or 2) cracks, dents or other defects in the case, bracket or connector are present.

(8) Do not directly expose the airbag sensor assemblies or airbag assemblies to hot air or flames.

(9) Use a voltmeter/ohmmeter with high impedance (minimum = 10 kOhms) for troubleshooting electrical circuits.

(10) Information labels are attached to the SRS components. Follow the instructions on the labels.

(11) After work on the SRS is completed, check the SRS warning light.

(b) SPIRAL CABLE





Text in Illustration





(1) The steering wheel must be fitted correctly to the steering column with the spiral cable at the neutral position. Otherwise, cable damage and other problems may occur. Refer to the information about correct installation of the steering wheel Installation.

(c) STEERING PAD

(1) Always place a removed or new steering pad with the surface facing upward as shown in the illustration. Placing the steering pad with the pad surface facing downward could cause a serious accident if the airbag deploys. Also, do not place anything on top of the steering pad.





Text in Illustration





(2) Never measure the resistance of the airbag squib. This may cause the airbag to deploy, which could cause serious injury.





(3) Grease or detergents of any kind should not be applied to the steering pad.

(4) Store the steering pad in an area where the ambient temperature is below 93°C (200°F), the humidity is not high and there is no electrical noise.

(5) Before using an electric welder anywhere on the vehicle, disconnect the center airbag sensor assembly connectors. These connectors contain shorting springs. This feature reduces the possibility of the airbag deploying due to current entering the squib wiring.

(6) When disposing of the vehicle or the steering pad by itself, the airbag should be deployed using SST before disposal Steering Pad. Deploy the airbag in a safe place away from electrical noise.

(d) FRONT PASSENGER AIRBAG ASSEMBLY

(1) Always place a removed or new front passenger airbag assembly with the pad surface facing upward as shown in the illustration. Placing the airbag assembly with the airbag deployment direction facing downward could cause a serious accident if the airbag deploys.





Text in Illustration





(2) Never measure the resistance of the airbag squib. This may cause the airbag to deploy, which could cause serious injury.





(3) Grease or detergents of any kind should not be applied to the front passenger airbag assembly.

(4) Store the airbag assembly in an area where the ambient temperature is below 93°C (200°F), the humidity is not high and there is no electrical noise.

(5) Before using an electric welder anywhere on the vehicle, disconnect the center airbag sensor assembly connectors. These connectors contain shorting springs. This feature reduces the possibility of the airbag deploying due to current entering the squib wiring.

(6) When disposing of the vehicle or the airbag assembly unit by itself, the airbag should be deployed using SST before disposal Front Passenger Airbag Assembly. Deploy the airbag in a safe place away from electrical noise.

(e) KNEE AIRBAG ASSEMBLY

(1) Always place a removed or new knee airbag assembly with the airbag deployment direction facing upward as shown in the illustration. Placing the airbag assembly with the airbag deployment direction facing downward could cause a serious accident if the airbag deploys.





Text in Illustration





(2) Never measure the resistance of the airbag squib. This may cause the airbag to deploy, which could cause serious injury.





(3) Grease or detergents of any kind should not be applied to the knee airbag assembly.

(4) Store the knee airbag assembly in an area where the ambient temperature is below 93°C (200°F), the humidity is not high and there is no electrical noise.

(5) Before using an electric welder anywhere on the vehicle, disconnect the center airbag sensor assembly connectors. These connectors contain shorting springs. This feature reduces the possibility of the airbag deploying due to current entering the squib wiring.

(6) When disposing of a vehicle or knee airbag assembly unit by itself, the airbag should be deployed using SST before disposal Knee Airbag Assembly (for Driver Side) (for driver side), Knee Airbag Assembly (for Front Passenger Side) (for front passenger side)). Deploy in a safe place away from electrical noise.

(f) SEAT SIDE AIRBAG ASSEMBLY

(1) Always place a removed or new seat side airbag assembly with the airbag deployment direction facing upward.

(2) Never measure the resistance of the airbag squib. This may cause the airbag to deploy, which could cause serious injury.





(3) Grease or detergents of any kind should not be applied to the seat side airbag assembly.

(4) Store the airbag assembly in an area where the ambient temperature is below 93°C (200°F), the humidity is not high and there is no electrical noise.

(5) Before using an electric welder anywhere on the vehicle, disconnect the center airbag sensor assembly connectors. These connectors contain shorting springs. This feature reduces the possibility of the airbag deploying due to current entering the squib wiring.

(6) When disposing of a vehicle or the airbag assembly unit by itself, the airbag should be deployed using SST before disposal Front Seat Side Airbag Assembly. Deploy the airbag in a safe place away from electrical noise.

(g) FRONT SEAT OUTER BELT ASSEMBLY (SEAT BELT PRETENSIONER)

(1) Never measure the resistance of the front seat outer belt assembly. This may cause the pretensioner of the front seat outer belt assembly to activate, which could cause serious injury.





(2) Never disassemble the front seat outer belt assembly.

(3) Never install the front seat outer belt assembly on another vehicle.

(4) Store the front seat outer belt assembly in an area where the ambient temperature is below 80°C (176°F), the humidity is not high and there is no electrical noise.

(5) Before using an electric welder anywhere on the vehicle, disconnect the center airbag sensor assembly connectors. These connectors contain shorting springs. This feature reduces the possibility of the airbag deploying due to current entering the squib wiring.

(6) When disposing of a vehicle or the front seat outer belt assembly unit by itself, the front seat outer belt assembly should be activated before disposal Procedures. Activate the front seat outer belt assembly in a safe place away from electrical noise.

(7) As the front seat outer belt assembly is hot after being activated, allow some time for it to cool down sufficiently before disposal. Never apply water to cool down the front seat outer belt assembly.

(8) Grease, detergents, oil or water should not be applied to the front seat outer belt assembly.

(h) CENTER AIRBAG SENSOR ASSEMBLY

(1) Never reuse a center airbag sensor assembly that has been involved in a collision where the SRS has deployed.

(2) The connectors to the center airbag sensor assembly should be connected or disconnected with the sensor installed to the vehicle. If the connectors are connected or disconnected while the center airbag sensor assembly is not installed, the SRS may activate.

(3) Work must be started at least 90 seconds after the engine switch is turned off and the cable is disconnected from the negative (-) battery terminal, even if only loosening the bolts of the center airbag sensor assembly.

(i) WIRE HARNESS AND CONNECTOR

(1) All the connectors in the system are a standard yellow color. If an SRS wire harness has an open circuit or a connector is broken, replace it.

3. ELECTRONIC CONTROL





Text in Illustration





NOTICE:
After the engine switch is turned off, the display and navigation module display (HDD navigation system) records various types of memory and settings. As a result, after turning the engine switch off, make sure to wait at least 60 seconds before disconnecting the cable from the negative (-) battery terminal.

(a) DISCONNECTING AND RECONNECTING NEGATIVE BATTERY CABLE

(1) Before performing work on electronic components, disconnect the cable from the negative (-) battery terminal to prevent damage to the electrical system or components.

(2) When disconnecting the cable, turn the engine switch and headlight switch off and loosen the cable nut completely. Perform these operations without twisting or prying the cable. Then disconnect the cable.

(3) Clock settings, radio settings, audio system memory, DTCs and other data will be cleared when the cable is disconnected from the negative (-) battery terminal. Write down any necessary data before disconnecting the cable.

(b) HANDLING OF ELECTRONIC PARTS





Text in Illustration





(1) Do not open the cover or case of the ECU unless absolutely necessary. If the IC terminals are touched, the IC may be rendered inoperative by static electricity.

(2) Do not pull on the wires when disconnecting electronic connectors. Pull on the connector itself.

(3) Do not drop electronic components, such as sensors or relays. If they are dropped on a hard surface, they should be replaced.

(4) When cleaning the engine with steam, protect the electronic components, air filter and emission-related components from water.

(5) Never use an impact wrench to remove or install temperature switches or temperature sensors.

(6) When measuring the resistance between terminals of a wire connector, insert the tester probe carefully to prevent the terminals from bending.

4. REMOVAL AND INSTALLATION OF FUEL CONTROL PARTS

(a) PLACE FOR REMOVING AND INSTALLING FUEL SYSTEM PARTS

(1) Work in a location with good air ventilation that does not have welders, grinders, drills, electric motors, stoves, or any other ignition sources nearby.

(2) Never work in a pit or near a pit as fuel vapors will collect there.

(b) REMOVING AND INSTALLING FUEL SYSTEM PARTS

(1) Prepare a fire extinguisher before starting work.

(2) To prevent static electricity, install a ground wire to the fuel changer and vehicle, and do not spray the surrounding area with water. Be careful when performing work in this area, as the floor surface will become slippery. Do not clean up gasoline spills with water, as this may cause the gasoline to spread, and possibly create a fire hazard.

(3) Avoid using electric motors, work lights and other electric equipment that can cause sparks or high temperatures.

(4) Avoid using iron hammers as they may create sparks.

(5) Dispose of fuel-contaminated cloth separately using a fire resistant container.

5. REMOVAL AND INSTALLATION OF ENGINE INTAKE PARTS

(a) If any metal particles enter intake system parts, this may damage the engine.





(b) When removing and installing intake system parts, cover the openings of the removed parts and engine openings. Use adhesive tape or other suitable materials.

(c) When installing intake system parts, check that no metal particles have entered the engine or installed parts.

6. HANDLING OF HOSE CLAMPS





Text in Illustration





(a) Before removing a hose, check the clamp position so that it can be reinstalled in the same position.

(b) Replace any deformed or dented clamps with new ones.

(c) When reusing a hose, attach the clamp on the clamp track portion of the hose.

(d) For a spring type clamp, it may be necessary to spread the tabs slightly after installation by pushing them in the direction of the arrows as shown in the illustration.

7. FOR VEHICLES EQUIPPED WITH MOBILE COMMUNICATION SYSTEMS





(a) Install an antenna as far away from the ECU and sensors of the vehicle electronic systems as possible.

(b) Install an antenna and feeder at least 20 cm (7.87 in.) away from the ECU and sensors of the vehicle electronic systems. For details about ECU and sensor locations, refer to the section on the applicable components.

(c) Keep the antenna and feeder separate from other wiring as much as possible. This will prevent signals sent from the communication equipment from affecting vehicle equipment and vice versa.

(d) Check that the antenna and feeder are correctly adjusted.

(e) Do not install a high-powered mobile communication system.

8. HEADLIGHT INSPECTION OR MAINTENANCE

(a) When the headlight dimmer switch assembly is set to head, do not touch the discharge headlight high-voltage socket area.

NOTICE:
When performing inspection or maintenance, the discharge headlight precautions must be followed.

(b) When the headlights are illuminated, do not cover the headlights for 3 minutes or more.





Text in Illustration





NOTICE:
As the headlight's outer lens is made of resin, the resulting heat created when covering the headlight for an extended period of time may deform the headlight.

9. FOR VEHICLES EQUIPPED WITH TRACTION CONTROL (TR(A)C) AND VEHICLE STABILITY CONTROL (VSC) SYSTEMS

When testing with a 2-wheel drum tester such as a speedometer tester, a combination speedometer and brake tester, or a chassis dynamometer, or when jacking up the front wheels and turning the wheels, perform the following procedure to enter inspection mode and disable the TR(A)C and VSC systems Service Precautions.

HINT
* The vehicle may slip unexpectedly out of the dynamometer because of TR(A)C and VSC operation.
* Pressing the VSC OFF switch (for vehicles with a VSC OFF switch) does not disable TR(A)C and VSC operation completely.
NOTICE:
* Make sure that the VSC warning light is blinking.
* Secure the vehicle with chains for safety.
10. FOR VEHICLES EQUIPPED WITH CATALYTIC CONVERTER

CAUTION:
If a large amount of unburned gasoline or gasoline vapors flow into the converter, it may cause converter overheating and create a fire hazard. To prevent this, observe the following precautions:

(a) Use only unleaded gasoline.

(b) Avoid idling the engine for more than 20 minutes.

(c) Avoid performing unnecessary spark tests.

(1) Perform a spark test only when absolutely necessary. Perform this test as rapidly as possible.

(2) While testing, never race the engine unless instructed.

(d) Avoid a prolonged engine compression measurement. Engine compression measurements must be performed as rapidly as possible.

(e) Do not run the engine when the fuel tank is nearly empty. This may cause the engine to misfire and create an extra load on the converter.

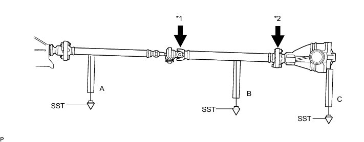
11. INSPECTION AND ADJUSTMENT OF JOINT ANGLE DURING REMOVAL AND INSTALLATION OF PROPELLER SHAFT

(a) for 2GR-FSE Engine:

When performing operations which involve the removal and installation of the propeller shaft, always check the joint angle. Make adjustments if necessary Installation.





Text in Illustration





(b) for 4GR-FSE Engine:

When performing operations which involve the removal and installation of the propeller shaft, always check the joint angle. Make adjustments if necessary Installation.





Text in Illustration