Knock Sensor: Service and Repair
REPLACEMENT1. DISCHARGE FUEL SYSTEM PRESSURE
2. DISCONNECT ENGINE WIRE NO.3 (BATTERY NEGATIVE TERMINAL)
3. DRAIN ENGINE COOLANT
4. REMOVE FRONT SUSPENSION UPPER BRACE CENTER (W/O TEMS)
5. REMOVE V-BANK COVER SUB-ASSY
6. REMOVE AIR CLEANER CAP SUB-ASSY
7. REMOVE EMISSION CONTROL VALVE SET
8. REMOVE INTAKE AIR SURGE TANK
9. REMOVE ENGINE MOVING CONTROL ROD
(a) Remove the pipe from the clamp.
(b) Remove the 4 bolts, then remove the engine moving control rod and radio setting condenser.
10. REMOVE INTAKE MANIFOLD
(a) Disconnect the fuel pipe No.1.
(1) Remove the fuel pipe clamp.
(2) Pinch the tube connector, then pull out the fuel pipe No.1.
NOTICE:
- Check around the quick connector for dirt or mud before this operation. Remove the dirt if necessary.
- Be careful of mud because the quick connector has an 0-ring which seals the pipe and quick connector that can be contaminated.
- Do not use any tools in this operation.
- Do not bend or twist the nylon tube. Protect the quick connector by covering it with a vinyl or plastic bag.
- When the pipe and quick connector are stuck, push and pull the quick connector to release and pull the quick connector out carefully.
(b) Disconnect the heater inlet water hose.
(c) Remove the nut, then disconnect the ground cable.
(d) Disconnect the 6 fuel injector connectors.
(e) In order to remove the intake manifold, using several steps, remove the 9 bolts and 2 nuts in the sequence shown in the illustration.
11. REMOVE WATER OUTLET
(a) Disconnect the bond cable No.1 connector.
(b) Disconnect the pipe of the radiator reserve tank.
(c) Lock the hose clamp as shown in the illustration, then disconnect the radiator hose inlet.
(d) Disconnect the engine coolant temperature sensor connector.
(e) Remove the clamp.
(f) Remove the 2 bolts, 2 nuts and 2 washers.
(g) Lock the hose clamp as shown in the illustration. Then remove the water outlet together with water by-pass hose No.1.
(h) Remove the 2 gaskets from the 2 cylinder heads.
12. REMOVE KNOCK SENSOR
(a) Disconnect the 2 knock sensor connectors.
(b) Remove the 2 nuts, then remove the 2 knock sensors.
13. INSTALL KNOCK SENSOR
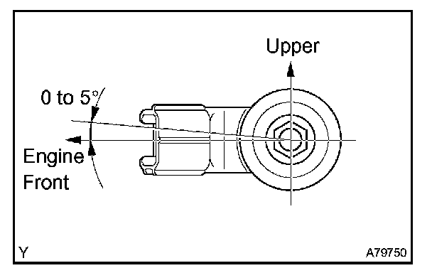
(a) Install the 2 knock sensors with the 2 nuts as shown in the illustration.
Torque: 20 N-m (199 kgf-cm, 14 ft-lbf)
(b) Connect the 2 knock sensor connectors.
14. INSTALL WATER OUTLET
(a) Install 2 new gaskets to the 2 cylinder heads.
(b) Install the water outlet together with water by-pass hose No.1, then unlock the hose clamp.
(c) Tighten the 2 bolts, 2 nuts and 2 washers.
Torque: 15 N-m (153 kgf-cm, 11 ft-lbf)
(d) Install the clamp.
(e) Connect the engine coolant temperature sensor connector.
(f) Connect the bond cable No.3 connector.
(g) Connect the pipe of the radiator reserve tank.
(h) Connect the radiator hose inlet, then unlock the hose clamp.
15. INSTALL INTAKE MANIFOLD
(a) Install the intake manifold with the 9 bolts, 2 nuts and 2 washers. Using several steps, tighten the 9 bolts and 2 nuts uniformly in the sequence shown in the illustration.
Torque: 15 N-m (153 kgf-cm, 11 ft-lbf)
(b) Retighten the 9 water outlet mounting bolts and 2 nuts.
Torque: 15 N-m (153 kgf-cm, 11 ft-lbf)
(c) Install the ground cable with the nut.
Torque: 8.4 N-m (86 kgf-cm, 74 in.-lbf)
(d) Connect the heater inlet water hose.
(e) Connect the fuel pipe No.1.
(1) Push in the quick connector to the pipe until it makes a "click" sound.
NOTICE:
- Check the connected part for damage or foreign objects.
- After connecting, check if the quick connector and pipe are securely connected by pulling them.
(2) Install the fuel pipe clamp.
16. INSTALL ENGINE MOVING CONTROL ROD
Torque:
23 N-m (235 kgf-cm, 17 ft-lbf) for bolt A
64 N-m (653 kgf-cm, 47 ft-lbf) for bolt B
17. INSTALL INTAKE AIR SURGE TANK
18. INSTALL EMISSION CONTROL VALVE SET
19. INSTALL AIR CLEANER CAP SUB-ASSY
20. CHECK CONNECTION OF VACUUM HOSE
21. CONNECT ENGINE WIRE NO.3 (BATTERY NEGATIVE TERMINAL)
Torque: 5.4 N-m (55 kgf-cm, 48 in.-lbf)
22. ADD ENGINE COOLANT
23. CHECK FOR ENGINE COOLANT LEAKS
24. CHECK FOR FUEL LEAKS
25. INSTALL V-BANK COVER SUB-ASSY
26. INSTALL FRONT SUSPENSION UPPER BRACE CENTER (W/O TEMS)
27. SYSTEM INITIALIZATION