FREE REPAIR MANUALS & LABOR GUIDES 1982-2013 Vehicles
Courtesy of Operation CHARM
:
Car repair manuals for everyone.
Home
>>
Hyundai
>>
2013
>>
Sonata L4-2.4L Hybrid
>>
Repair and Diagnosis
>>
Transmission and Drivetrain
>>
Automatic Transmission/Transaxle
>>
Control Module
>>
Diagrams
>>
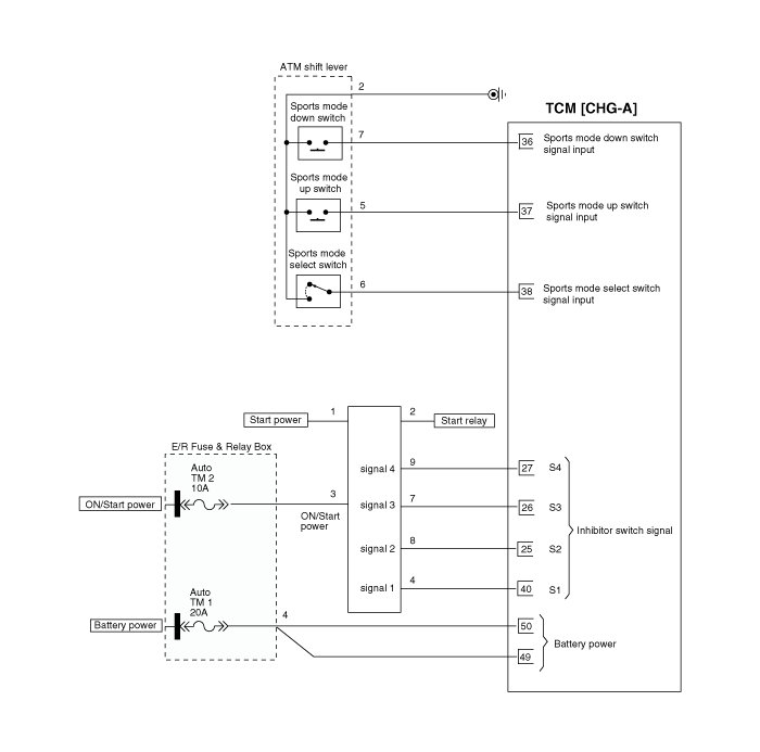
Transaxle Control Module (TCM)
Transaxle Control Module (TCM)
TCM
connector and terminal function
TCM
terminal function
Connector [CHG-A]
Connector [CHG-K]
TCM
Terminal input/ output signal
Connector [CHG-A]
Connector [CHG-K]
Circuit Diagram