FREE REPAIR MANUALS & LABOR GUIDES 1982-2013 Vehicles
Courtesy of Operation CHARM: Car repair manuals for everyone.

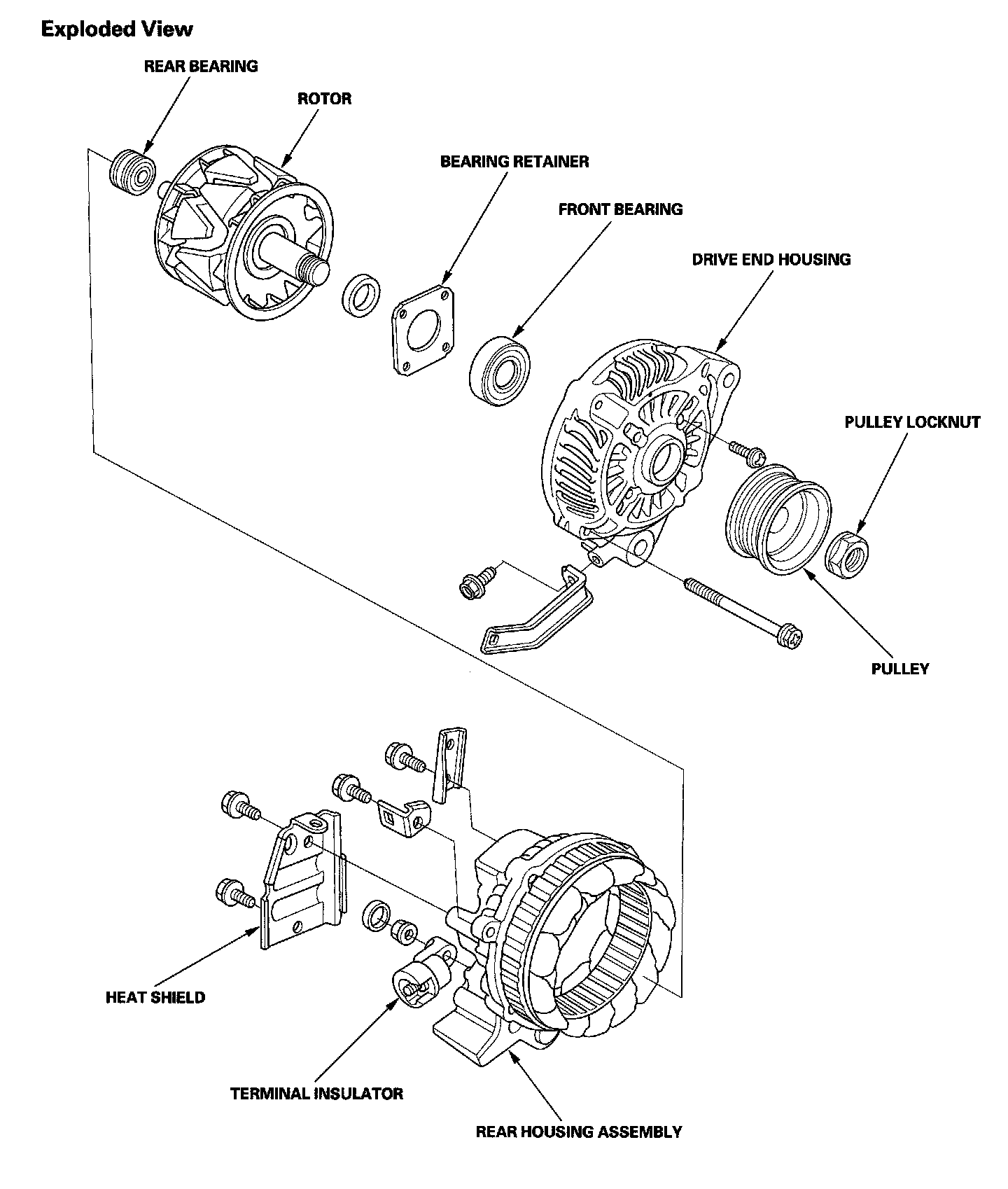
Overhaul




Alternator Overhaul

Special Tools Required
- Driver 07749-0010000
- Attachment, 42 x 47 mm 07746-0010300

NOTE: Refer to the Exploded View as needed during this procedure.

Alternator Disassembly
1. Test the alternator and regulator before you remove them.
2. Remove the alternator.




3. Remove the heat shield (A) and harness brackets (B).




4. Remove the terminal insulator.




5. Remove the four through bolts.




6. Heat the rear bearing seat with a heat gun for about 5 minutes (129-140 °F, 50-60 °C).




7. Separate the rear housing from the drive end housing by inserting a flat-tip screwdriver into the openings and prying them apart.

NOTE: Be careful not to damage the stator with the tip of the screwdriver.




8. Separate the rear housing (A) and drive end housing (B) with the stator (C) attached to the rear housing.




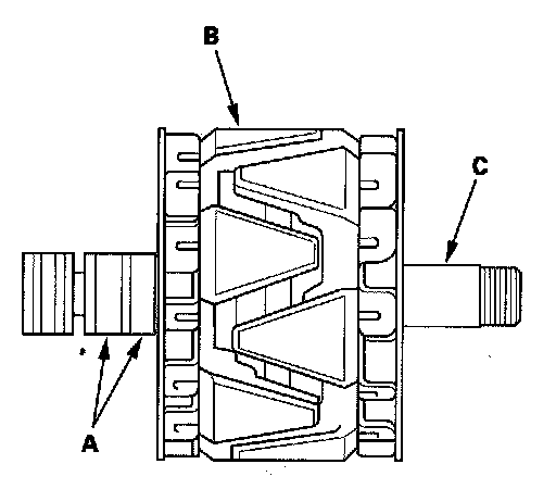
9. If you are not replacing the front bearing and/or rear bearing, go to step 17. Clamp the rotor in a soft-jawed vise, then remove the pulley locknut.




10. Remove the rotor using a puller as shown.
11. Inspect the rotor shaft for scoring, and inspect the bearing journal surface in the drive end housing for seizure marks.
- If either the rotor or drive end housing is damaged, replace the alternator.
- If both the rotor and the drive end housing are OK, go to step 12.




12. Remove the rear bearing using the puller as shown.




13. Use a hand press to install the new rear bearing. Apply pressure only on the inner race to avoid damaging the bearing.




14. Remove the front bearing retainer plate.




15. Support the drive end housing in a vise, and drive out the front bearing with a brass drift and hammer.




16. With a hammer and the special tools, install a new front bearing in the drive end housing.

Alternator Brush Inspection




17. Measure the length of both brushes with a vernier caliper.
- If either brush is shorter than the service limit, replace the rear housing assembly.
- If the brush length is OK, go to step 18.

Rotor Slip Ring Test




18. Check for continuity between the slip rings (A).
- If there is continuity, go to step 19.
- If there is no continuity, replace the rotor assembly.

19. Check for no continuity between each slip ring (A) and the rotor (B) and the rotor shaft (C).
- If there is no continuity, replace the rear housing assembly, and go to step 20.
- If there is continuity, replace the rotor assembly.

Alternator Reassembly

20. If you removed the pulley, put the rotor in the drive end housing, then tighten its lock nut to 111 N.m (11.3 kgf-m, 81.7 lbf-ft),
21. Remove any grease or oil from the slip rings.




22. Push the brushes (A) in, then insert a pin or drill bit (B) (about 1.8 mm (0.77 in.) diameter) to hold them there.
23. Heat the rear bearing seat with a heat gun for about 5 minutes (129-140 °F,50-60 °C).




24. Put the rear housing assembly (A) and drive end housing/rotor assembly (B) together, tighten the four through bolts (C), and pull out the pin (D).
25. After assembling the alternator, turn the pulley by hand to make sure the rotor turns smoothly and without noise.
26. Install the alternator and drive belt.