FREE REPAIR MANUALS & LABOR GUIDES 1982-2013 Vehicles
Courtesy of Operation CHARM: Car repair manuals for everyone.

Component Tests

ATF Temperature Sensor Test/Replacement
1. Raise the vehicle on a hoist, or apply the parking brake, block the rear wheels, and raise the front of the vehicle. Make sure it is securely supported.
2. Remove the splash shield.
3. Disconnect the shift solenoid harness connector.





4. Measure the ATF temperature sensor resistance between shift solenoid harness connector terminals No. 6 and No. 7.

Standard: 50 ohms - 25 k ohms

5. If the resistance is out of standard, replace the ATF temperature sensor and solenoid harness; go to step 6. The ATF temperature sensor is not available separately from the solenoid harness.
^ If the measurement is within the standard, connect the connector securely, and install the splash shield.

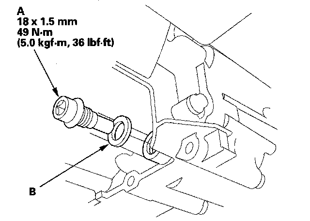
6. Remove the drain plug (A), and drain the automatic transmission fluid ATF





7. Reinstall the drain plug with a new sealing washer (B).
8. Remove the shift solenoid valve cover (A), dowel pins (B), gasket (C), and harness clamp bracket (D).





9. Remove the shift solenoid harness connector (E), and replace it.





10. Install a new O-ring (F) on the new shift solenoid harness connector, and install the connector in the transmission housing.
11. Connect WHT harnesses and ORN harness connector to shift solenoid valve B. ATF temperature sensor is assembled in the connector with WHT harnesses.
12. Connect BLU harness terminal to shift solenoid valve A, GRN harness terminal to shift solenoid valve C, and YEL harness terminal to shift solenoid valve D.
13. Install the shift solenoid valve cover, dowel pins, a new gasket, harness clamp bracket.
14. Check the connector for rust, dirt, or oil, then connect the connector securely.
15. Refill the transmission with ATF.
16. Install the splash shield.