FREE REPAIR MANUALS & LABOR GUIDES 1982-2013 Vehicles
Courtesy of Operation CHARM: Car repair manuals for everyone.

System Description

System Description




Multiplex Integrated Control System
The MICU (built into the under-dash fuse/relay box) is one of the B-CAN components. The MICU controls many systems related to the body controller area and a security system, and also works as a gateway to diagnose the other B-CAN connected ECUs with the HDS.

Refer to each system circuit diagram for details.

The MICU also controls the function of these circuits:
- Entry lights control (map lights and ceiling light)
- Exterior lights control (including the daytime running lights control)
- Horn
- Interlock system
- Key-in reminder
- Keyless entry
- Lights-on reminder
- Power door locks
- Seat belt reminder
- Security alarm
- Turn signal/hazard flasher
- Wiper/washer




Communication Line
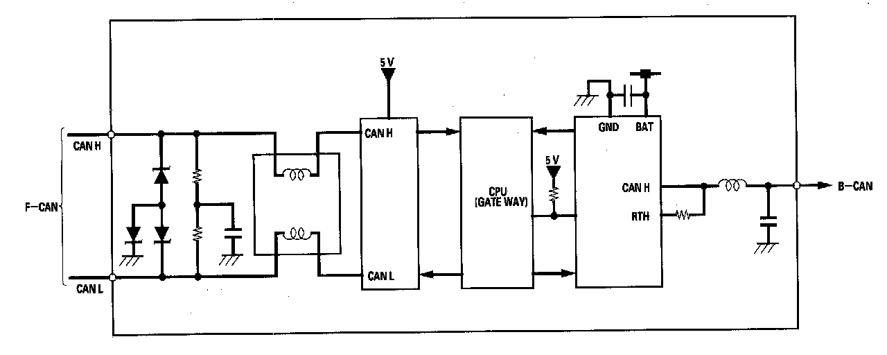
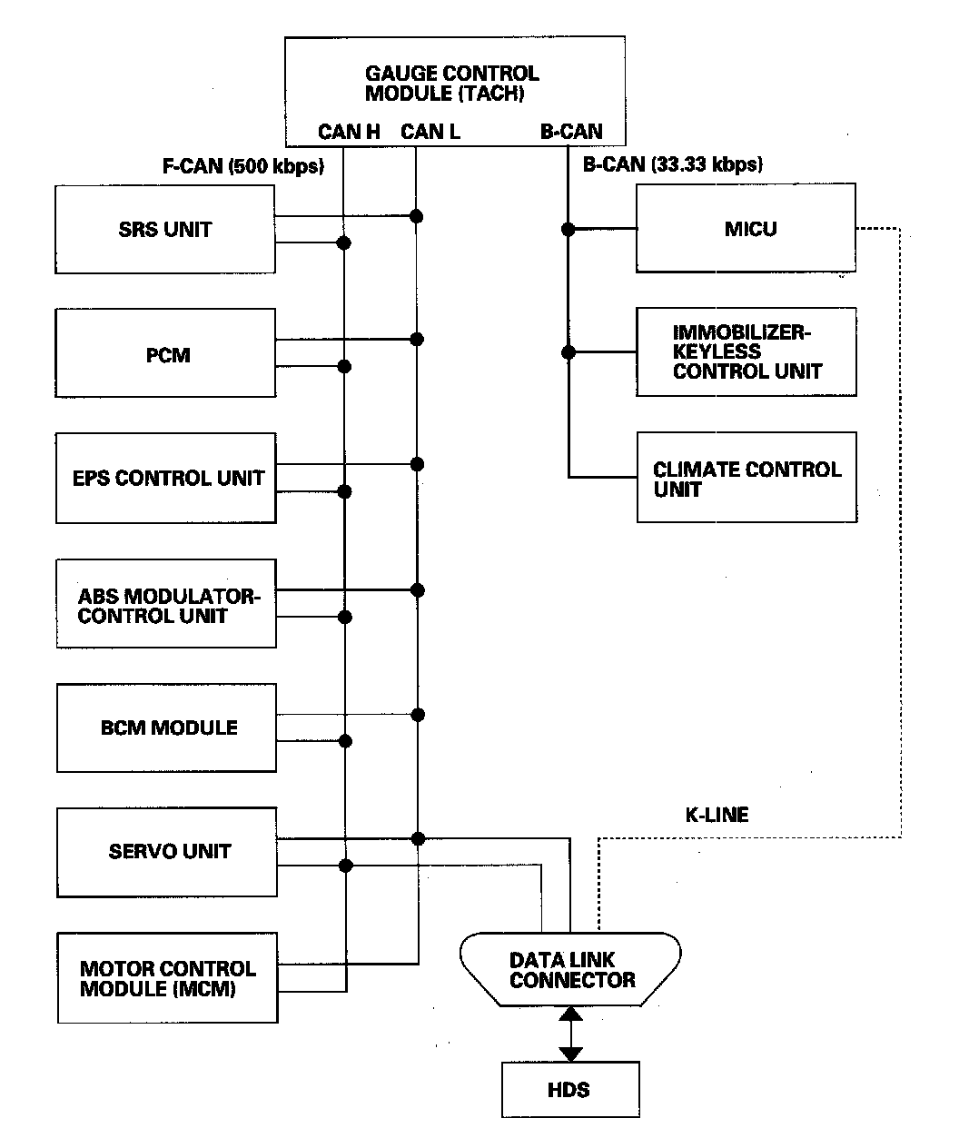
The body controller area network (B-CAN) and the fast controller area network (F-CAN) share information between multiple electronic control units (ECUs). B-CAN communication moves at a slower speed (33.33 kbps) for convenience related items and for other functions. F-CAN information moves at a faster speed (500 kbps) for "real time" functions such as fuel and emissions data. To allow both systems to share information, the gauge control module translates information from B-CAN to F-CAN and from F-CAN to B-CAN.

- The single wire method is used between the units not requiring the communication to move at a faster speed for "real time" functions such as fuel and emissions data.
- Using a single wire method reduces the number of the wires used on the body controller area network.




Gateway Function
The gauge control module (tach) acts as a gateway to allow both systems to share information, the gauge control module translates information from B-CAN to F-CAN and from F-CAN to B-CAN.

Network "Loss of Communication" Error Checking Function
The ECUs on the CAN circuit send messages to each other. If there are any malfunctions on the network, the odo/trip display on the gauge control module can indicate the error messages by entering the gauge self-diagnostic function.




There are three types of messages as given:




Self-diagnostic Function
By connecting the HDS to the data link connector (DLC), the HDS can retrieve and indicate the diagnostic results from the MICU via a diagnostic line called K-LINE. The K-LINE is distinguished from the CAN line, and connected to the CAN related ECUs. The MICU is a gateway between the HDS and B-CAN related ECUs, and sends B-CAN diagnostic results to the HDS.

Wake-up and Sleep Function
The multiplex integrated control system has "wake-up" and "sleep" functions to decrease parasitic draw on the battery when the ignition switch is OFF.

- In the sleep mode, the MICU stops functioning (communication and CPU control) when it is not necessary for the system to operate.
- As soon as any operation is requested (for example, a door is unlocked), the related control unit in the sleep mode immediately wakes up and begins to function.
- When the ignition switch is turned OFF, and the driver's door is opened, then closed, there is a delay of about 40 seconds before the control unit goes from the wake-up mode to the sleep mode.
- The sleep mode will not function if any door is opened or if a key is in the ignition switch.
- The draw is reduced from 200 mA to less than 35 mA when in the sleep mode.

NOTE: Sleep and Wake-up Mode Test.

Fail-safe Function
To prevent improper operation, the MICU has a fail-safe function. In the fail-safe mode, the output signal is fixed when any part of the system malfunctions (for example, a faulty control unit or communication line). Each control unit has a hardware fail-safe function that fixes the output signal when there is a CPU malfunction, and a software fail-safe function that ignores the signal from a malfunctioning control unit, which allows the system to operate normally.

Hardware Fail-safe Control

Fail-safe function:
When a CPU problem or a abnormal power supply voltage is detected, the MICU moves to the hardware fail-safe mode, and each system output load is set to a pre-programmed fail-safe value.

Software Fail-safe Control
When any of the data from the B-CAN circuit cannot be received within a specified time, or an unusual combination of the data is recognized, the MICU moves to the software fail-safe mode. The data that cannot be received is forced to a pre-programmed value.




Power Supply Voltage Monitoring Function




Entry Lights Control System




Lighting System (Headlights, Parking Lights, Side Marker Lights, License Plate Lights, and Taillights)




Daytime Running Lights




Turn Signal/Hazard Flasher




Power Door Locks (Vehicle Speed Sensor)




Power Door Locks (Normally LOCK/UNLOCK Operation)




Door Lock Response Operation




Power Windows Key-off Operation




Keyless Entry System




Keyless PANIC




Security Alarm System




Key-in Reminder




Key Interlock




Answer Back Response Operation




Wiper/Washer




Collision Detection Signal (CDS)