FREE REPAIR MANUALS & LABOR GUIDES 1982-2013 Vehicles
Courtesy of Operation CHARM
:
Car repair manuals for everyone.
Home
>>
Honda
>>
2007
>>
Accord V6-3.0L Hybrid
>>
Repair and Diagnosis
>>
Specifications
>>
Mechanical Specifications
>>
Body Specifications
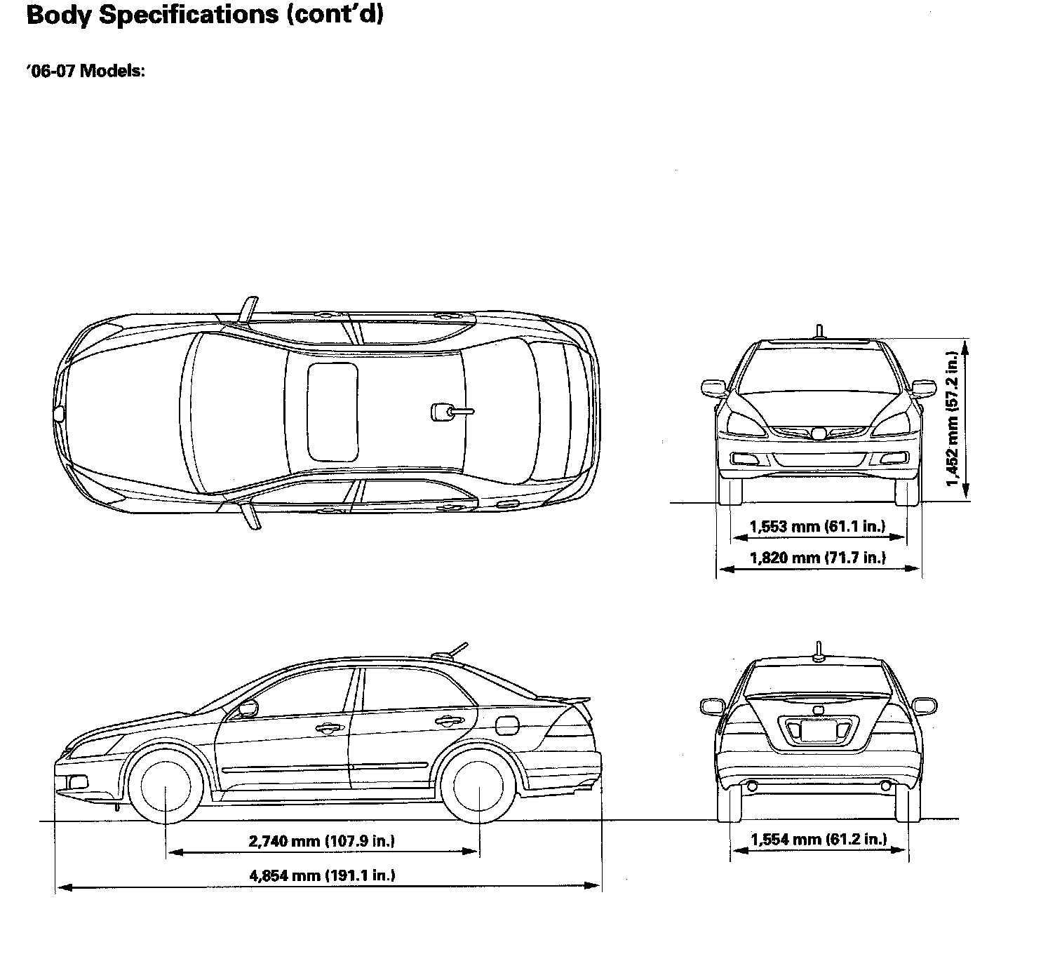
Body Specifications
Body Specifications ('06-07 Models):