FREE REPAIR MANUALS & LABOR GUIDES 1982-2013 Vehicles
Courtesy of Operation CHARM: Car repair manuals for everyone.

A/C Compressor Replacement

A/C Compressor Replacement

NOTE:
- Do not install the A/C compressor into a system unless you are completely sure that the system is free of contamination. Installing the A/C compressor into a contaminated system can result in premature A/C compressor failure.
- IMA components are located in this area. The IMA is a high-voltage system. You must be familiar with the IMA system before working on or around it. Make sure you have read the IMA information before performing repairs or service.

1. If the A/C compressor is marginally operable, run the engine at idle speed, and let the air conditioning work for a few minutes, then shut the engine off.
2. Make sure you have the anti-theft codes for the radio and the navigation system, then write down the customer's audio presets.
3. Turning off power to the high voltage circuit.
4. Recover the refrigerant with a recovery/recycling/charging station.
5. Remove the ignition coil cover.




6. '05 model: Remove the shield connector cover (A). Slide the retainer (B), then disconnect the connector (C). Remove the connector clip (D) and the wire harness clips (E).




7. '06 model: Insert a flat-tip screwdriver wrapped with protective tape in the notch (A) to release the hook (B), then remove the shield connector cover (C). Slide the retainer (D), then disconnect the connector (E). Remove the connector clip (F) and the wire harness clips (G).




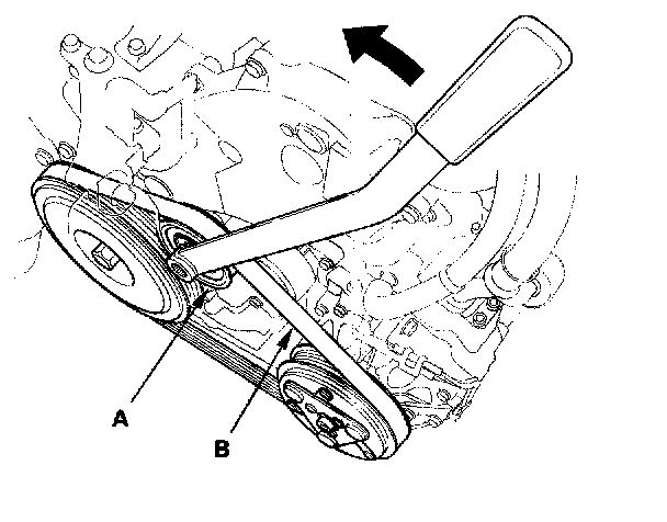
8. Move the auto-tensioner (A) to relieve tension from the drive belt (B), then remove the drive belt.




9. Disconnect the connector (A) from the A/C condenser. Remove the A/C compressor clutch connector (B) from the A/C condenser shroud (C), then remove the wire harness clip (D). Remove the hose (E) from the radiator. Loosen the lower mounting bolt, then remove the upper mounting bolts and the radiator fan shroud. Be careful not to damage the radiator fins when removing the A/C condenser fan shroud.
10. Remove the PCV valve.




11. Disconnect the A/C compressor clutch connector (A). Remove the bolt and the nut, then disconnect the suction line (B) and discharge line (C) from the A/C compressor. Plug or cap the lines immediately after disconnecting them to avoid moisture and dust contamination.




12. Remove the mounting bolts and the A/C compressor. Be careful not to damage the radiator fins when removing the A/C compressor.
13. Install the A/C compressor in the reverse order of removal, and note these items:
- Inspect the A/C lines for any signs of contamination.
- If you're installing a new A/C compressor, you must calculate the amount of refrigerant oil to be removed from it. A new A/C compressor comes with a full charge of oil.
- Using the wrong refrigerant oil can be a safety hazard.
- Replace the O-rings with new ones at each fitting, and apply a thin coat of refrigerant oil before installing them. Be sure to use the correct O-rings for HFC-134a (R-134a) to avoid leakage.
- To avoid contamination, do not return the oil to the container once dispensed, and never mix it with other refrigerant oils.
- Immediately after using the oil, dispose of any remaining oil in the container, due to moisture absorption short shelf life.
- Do not spill the refrigerant oil on the vehicle; it may damage the paint; if the refrigerant oil contacts the paint, wash it off immediately.
- Be careful not to damage the radiator fins when installing the A/C compressor, the alternator or the A/C condenser fan shroud.
- Charge the system.
- Reset the power window control unit.
- Enter the anti-theft codes for the radio and the navigation system, then enter the customer's audio presets.
- If the IMA battery level gauge (BAT) displays no segments, start the engine, and hold it between 3,500 rpm and 4,000 rpm without load (in Park or neutral) until the BAT displays at least three segments.