FREE REPAIR MANUALS & LABOR GUIDES 1982-2013 Vehicles
Courtesy of Operation CHARM
:
Car repair manuals for everyone.
Home
>>
Honda
>>
2005
>>
Insight L3-1.0L Hybrid
>>
Repair and Diagnosis
>>
Specifications
>>
Mechanical Specifications
>>
Engine
>>
Engine Lubrication
>>
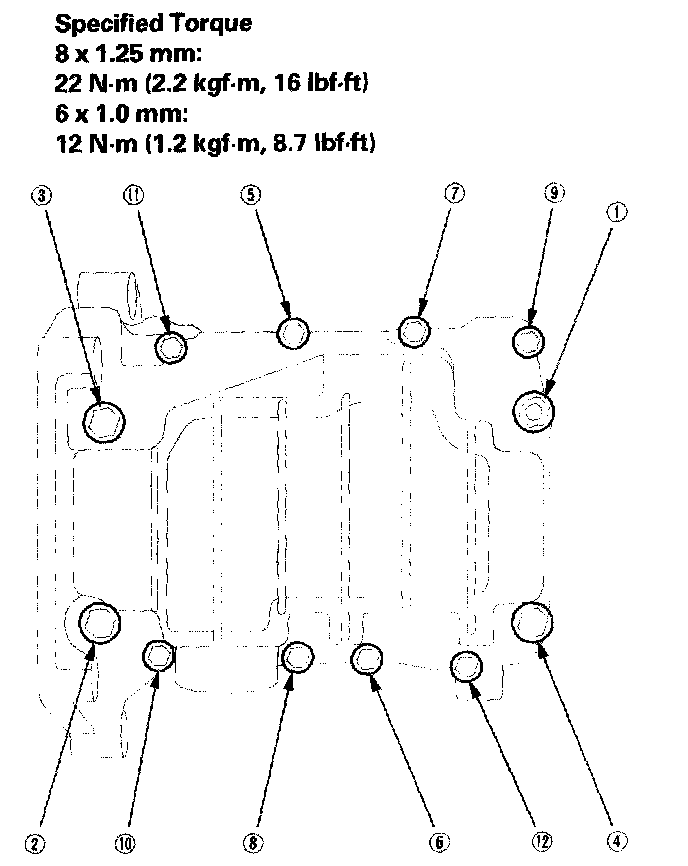
Oil Pan, Engine
Oil Pan, Engine
Oil pan
Install the new oil pan gaskets (A) and a new O-ring (B) on the
oil pan
, then install the oil pan (C). Tighten the transmission housing mounting bolts (D).
Tighten the bolts and nuts to the specified torque.