FREE REPAIR MANUALS & LABOR GUIDES 1982-2013 Vehicles
Courtesy of Operation CHARM: Car repair manuals for everyone.

Control Assembly: Service and Repair

Remove or Disconnect

1. Disable the SIR.
2. Negative battery cable.
3. Pull out instrument panel compartment (glove box) while pushing its stoppers (right and left sides).
4. Cigar lighter electrical connector.
5. Ashtray.
6. Four screws and center console trim bezel from instrument panel.
7. Five screws and pull out radio.
8. Grasp firmly on heater control unit lever control knobs and pull them out.
9. One screw and right side instrument cluster lower cover.
10. Gently pry-out heater face plate.
11. Heater face plate illumination lamp socket.
12. A/C switch (if equipped).

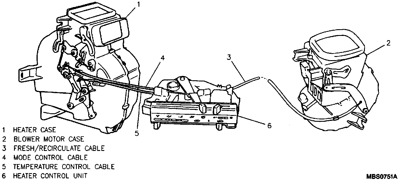
Heater Control Unit Control Cables:






13. Temp, air mode, and fresh/recirc air control cables at heater case and blower case.
14. Two screws from heater control unit, then push heater control unit inside instrument panel.
15. Blower motor switch electrical connector.
16. Remove heater control unit from instrument panel through radio opening.

Install or Connect

1. Heater control unit to instrument panel.
2. Blower motor electrical connector.
3. Heater control unit mounting screws.
4. Temp, air mode, and fresh/recirc air control cables.
5. A/C switch (if equipped).
6. Illumination lamp socket to heater face plate.
7. Instrument cluster lower cover; secure with one screw.
8. Heater control unit lever control knobs.
9. Radio.
10. Center console trim bezel to instrument panel; secure with four screws.
11. Cigar lighter electrical connector.
12. Ashtray.
13. Negative battery cable.