FREE REPAIR MANUALS & LABOR GUIDES 1982-2013 Vehicles
Courtesy of Operation CHARM
:
Car repair manuals for everyone.
Home
>>
Ford
>>
2006
>>
Mustang V8-4.6L VIN H
>>
Repair and Diagnosis
>>
Specifications
>>
Mechanical Specifications
>>
Engine
>>
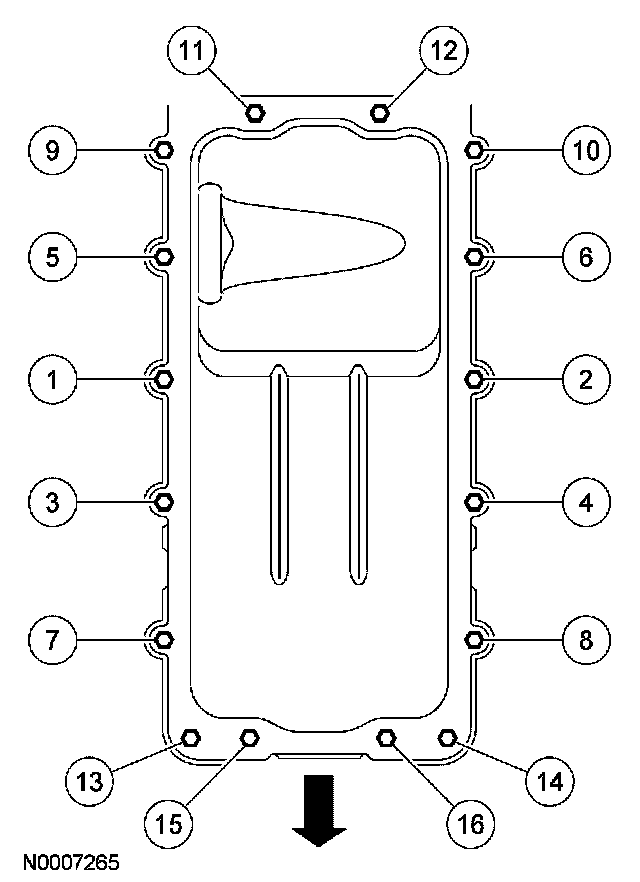
Oil Pan, Engine
Oil Pan, Engine
Oil pan
bolts
First pass
2 Nm (18 inch lbs.)
Second pass
20 Nm (15 ft. lbs.)
Final pass
tighten 60°