FREE REPAIR MANUALS & LABOR GUIDES 1982-2013 Vehicles
Courtesy of Operation CHARM: Car repair manuals for everyone.

Fluid - M/T: Service and Repair

Transaxle Draining and Filling

Material:





1. With the vehicle in NEUTRAL, position it on a hoist. For additional information, refer to Maintenance/Service and Repair.
2. Remove the drain plug and drain the transaxle.
3. Clean and install the drain plug.
^ Tighten to 45 Nm (33 ft. lbs.).





4. NOTE: Before removing, clean the area around the filler plug.

Remove the fill plug.





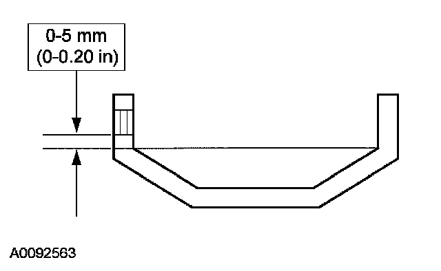
5. Using a suitable oil suction gun, fill the transaxle to the correct level with the specified fluid. Transaxle fluid level: 0-5 mm below the lower edge of the filler plug bore.
6. Install the fill plug.
^ Tighten to 45 Nm (33 ft. lbs.).
7. Lower the vehicle.