FREE REPAIR MANUALS & LABOR GUIDES 1982-2013 Vehicles
Courtesy of Operation CHARM: Car repair manuals for everyone.

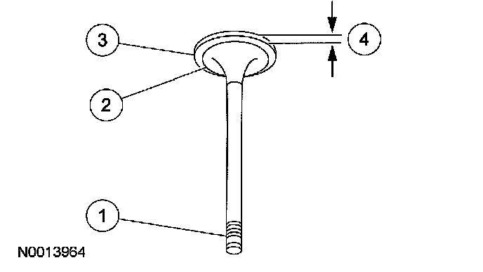
Valve

Valve Stem Diameter





1. Measure the diameter of each intake and exhaust valve stem at the points shown. Verify the diameter is within specification.
^ If out of specification, install new components as necessary.

Valve Inspection





1. Inspect these valve areas:
1. The end of the stem for grooves or scoring.
2. The valve face and the edge for pits, grooves or scores.
3. The valve head for signs of burning, erosion, warpage and cracking.
4. The valve margin for wear.