FREE REPAIR MANUALS & LABOR GUIDES 1982-2013 Vehicles
Courtesy of Operation CHARM: Car repair manuals for everyone.

Part 1

INSTALLATION (Steps 1-40)

Engine

Special Tool(s):




Material:





Vehicles equipped with a 2.0L engine and automatic transmission





1. NOTE: Lubricate the torque converter pilot hub with multi-purpose grease.

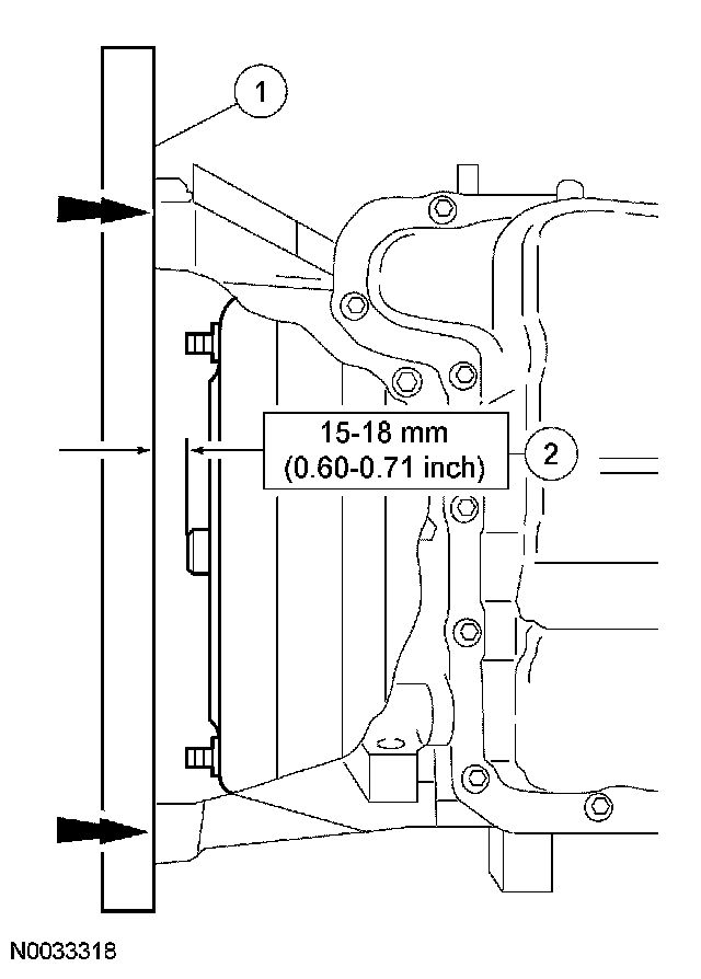
Check the installation depth of the torque converter.
1. Lay a straightedge on the automatic transaxle flange.
2. Check the installation depth between the transaxle flange and the torque converter centering spigot for the correct clearance.

All vehicles





2. Install new dowel pins in the engine block.





3. Using the engine crane, install the transaxle onto the engine.
1. Install the 2 bolts at the dowel pins.
^ Tighten to 48 Nm (35 ft. lbs.).
2. Install the remaining bolts.
^ Tighten to 48 Nm (35 ft. lbs.).





4. Using the special tools, raise the engine and transaxle assembly onto the lift table.





5. Using the special tools, secure the engine and transaxle assembly to the lift table.

Vehicles equipped with a 2.0L engine and automatic transmission





6. Connect the solenoid body and the transmission range (TR) sensor electrical connectors.





7. Connect the turbine shaft speed (TSS) sensor electrical connector.





8. Connect the output shaft speed (OSS) sensor electrical connector.





9. NOTE: If new parts are not being used, be sure to align the marks on the flexplate and the stud made during engine removal.

Install the 4 torque converter nuts.
^ Tighten to 35 Nm (26 ft. lbs.).

Vehicles equipped with a manual transmission





10. Connect the vehicle speed sensor (VSS) electrical connector.

All vehicles
11. Using the lift table, position the engine and transaxle assembly in the vehicle.





12. Install the transaxle mount center nut.
^ Tighten to 133 Nm (98 ft. lbs.).





13. Install the 2 motor mount nuts.
^ Tighten to 80 Nm (59 ft. lbs.).





14. Install the 2 oil pan-to-bellhousing bolts.
^ Tighten to 48 Nm (35 ft. lbs.).





15. Install the 2 lower bellhousing-to-oil pan bolts.
^ Tighten to 48 Nm (35 ft. lbs.).





16. Install the starter motor isolator.





17. Install the starter motor and the 3 bolts.
^ Tighten to 25 Nm (18 ft. lbs.).





18. Install the transaxle roll restrictor and 2 bolts.
^ Tighten to 48 Nm (35 ft. lbs.).





19. NOTE: Install a new snap ring.

Install the LH front drive halfshaft.





20. Install the RH front halfshaft together with the intermediate shaft.





21. Install the front drive intermediate shaft bearing mounting bracket.
^ Tighten to 25 Nm (18 ft. lbs.).





22. Install both of the lower control arms to the knuckles.
1. Connect the suspension arm ball joint.
2. Install the bolt.
^ Tighten to 50 Nm (37 ft. lbs.).





23. Install both of the tie-rod ends to the knuckles.
^ Tighten to 47 Nm (35 ft. lbs.).





24. Connect the stabilizer bar to the LH strut and install the nut.
^ Tighten to 50 Nm (37 ft. lbs.).





25. Tighten the LH strut and spring assembly top mount nuts.
^ Tighten to 25 Nm (18 ft. lbs.).





26. Install the caliper.
1. Position the caliper and install the bolts.
^ Tighten to 28 Nm (21 ft. lbs.).
2. Install the bolt covers.





27. Install the brake hose onto the support bracket.

Vehicles equipped with air conditioning





28. NOTE: Install new O-ring seals.

Install the manifold and tube assembly onto the A/C compressor.
^ Tighten to 21 Nm (15 ft. lbs.).





29. Install the A/C compressor and the 3 bolts.
^ Tighten to 25 Nm (18 ft. lbs.).





30. Connect the A/C compressor electrical connector.

All vehicles





31. Install the power steering pressure (PSP) tube brackets and nuts.
^ Tighten to 13 Nm (10 ft. lbs.).





32. Connect the starter motor electrical connections.
^ Tighten the small nut to 5 Nm (44 inch lbs.).
^ Tighten the large nut to 12 Nm (9 ft. lbs.).





33. Install the generator coolant pipe.





34. Position the ground cable and install the bolt.
^ Tighten to 48 Nm (35 ft. lbs.).





35. Connect the lower radiator hose.





36. Install the cooling fan.





37. Connect the cooling fan electrical connectors.





38. Install the coolant expansion tank and the bolt.
^ Tighten to 10 Nm (89 inch lbs.).





39. Connect the coolant hoses.





40. Connect the heater hose to the T fitting.