FREE REPAIR MANUALS & LABOR GUIDES 1982-2013 Vehicles
Courtesy of Operation CHARM: Car repair manuals for everyone.

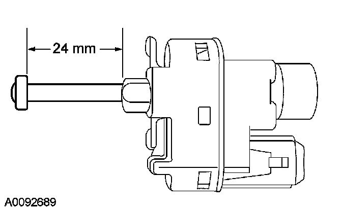
Brake Switch (Cruise Control): Adjustments

SPEED CONTROL DEACTIVATOR SWITCH ADJUSTMENT







1. NOTE: The brake pedal position (BPP) switch and the clutch pedal position (CPP) switch are shown removed for clarity.

Remove the speed control deactivator switch by turning the switch counterclockwise.







2. Pull out the speed control deactivator switch plunger until it is fully extended.
- Measure the plunger length. It should measure 24 mm (0.94 in).

3. Apply the brake pedal.







4. CAUTION: When installing the speed control deactivator switch, rotate the switch clockwise. Failure to follow this instruction will result in the switch plunger binding inside the switch.

NOTE:
- The speed control deactivator switch is automatically adjusted during installation.
- A slight ratcheting noise and feel during installation of the speed control deactivator switch is normal.

Install the speed control deactivator switch by turning the switch clockwise.

5. Slowly release the brake pedal.