FREE REPAIR MANUALS & LABOR GUIDES 1982-2013 Vehicles
Courtesy of Operation CHARM
:
Car repair manuals for everyone.
Home
>>
Ford
>>
2004
>>
Mustang V8-4.6L SC VIN Y
>>
Repair and Diagnosis
>>
Specifications
>>
Mechanical Specifications
>>
Engine
>>
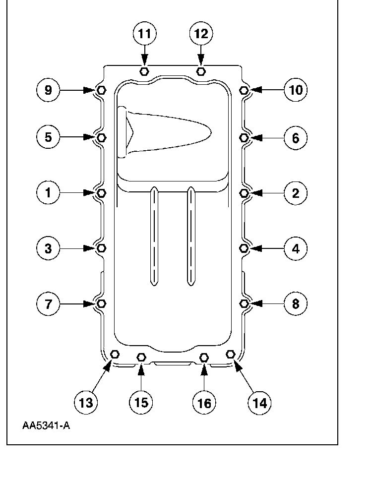
Oil Pan, Engine
Oil Pan, Engine
Stage 1: Tighten bolts to
2 Nm (18 inch lbs.).
Stage 2: Tighten bolts to
20 Nm (15 ft. lbs.).
Stage 3: Tighten an additional
60 degrees.