FREE REPAIR MANUALS & LABOR GUIDES 1982-2013 Vehicles
Courtesy of Operation CHARM: Car repair manuals for everyone.

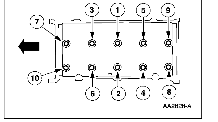
Cylinder Head Assembly

CYLINDER HEAD






CAUTION: The cylinder head bolts must be discarded and new bolts installed. They are a tighten-to-yield design and cannot be reused.

Stage 1: Tighten the bolts to 40 Nm (30 ft. lbs.)
Stage 2: Tighten the bolts an additional 90 degrees
Stage 3: Loosen the bolts a minimum of one full turn.
Stage 4: Tighten to 40 Nm (30 ft. lbs.)
Stage 5: Tighten an additional 90 degrees
Stage 6: Tighten an additional 90 degrees

Cylinder head gasket surface flatness 0.10 mm (0.004 inch) max. overall





Camshaft cap cluster to cylinder head 10 Nm (89 inch lbs.)





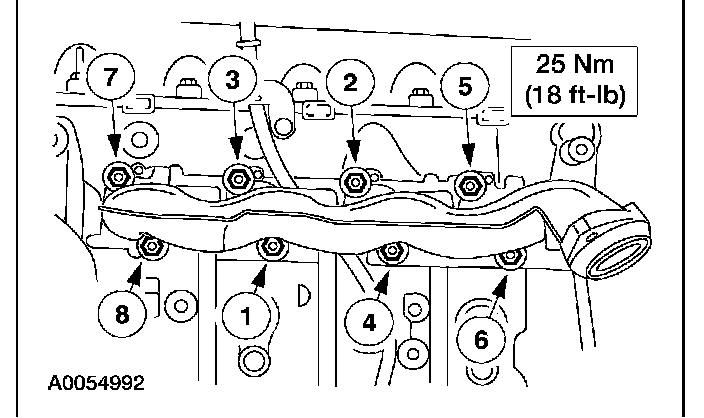
Exhaust Manifold bolts LH 25 Nm (18 ft.lbs.)





Exhaust Manifold bolts RH 23-27 Nm (17-20 ft.lb.)

CAMSHAFT SPROCKET BOLT
Tighten the bolts in two stages.
Stage 1: Tighten the bolt to 40 Nm (30 lb-ft).
Stage 2: Tighten the bolt an additional 90 degrees (1/4 turn)





Lower intake manifold manifold bolts 10 Nm (89 in.lbs)





Tighten the supercharger and CAC cooler assembly-to-lower intake
Stage 1: Tighten to 2 Nm (18 inch lbs.)
Stage 2: Tighten to 25 Nm (18 ft. lbs.)