Information Bus: Service and Repair
COMMUNICATION CIRCUIT WIRING REPAIRHeat Gun:
SPECIAL TOOL(S)
1. Disconnect the battery ground cable.
2. Strip the wires.
3. NOTE: Use rosin core mildly activated (RMA) solder, not acid core solder.
Solder the wires.
1 Install the heat shrink tube.
2 Twist the wires together.
3 Solder the wires together.
4. NOTE: Wait for the solder to cool before moving the wires.
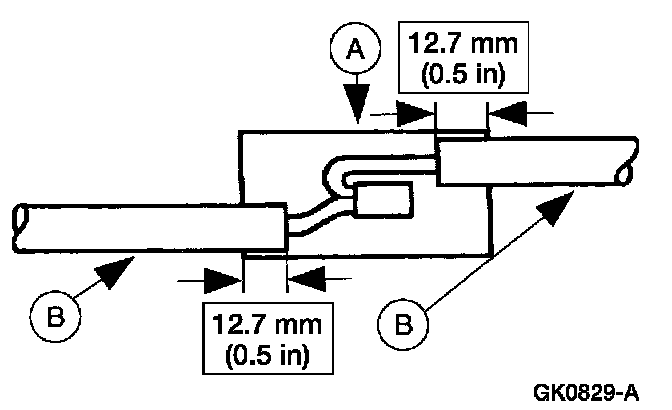
Bend the wires back in a straight line.
5. Position the (A) heat shrink tube over the (B) wire repair.
- Overlap the heat shrink tube on both wires.
6. Use the heat gun to heat the repaired area until adhesive flows out both ends of the heat shrink tube.
7. Reconnect the battery ground cable.