FREE REPAIR MANUALS & LABOR GUIDES 1982-2013 Vehicles
Courtesy of Operation CHARM: Car repair manuals for everyone.

Cylinder Head Assembly







CYLINDER HEAD

CAUTION: Always use new bolts.

Stage 1: Tighten to 20 Nm (15 ft. lbs.).
Stage 2: Tighten to 40 Nm (30 ft. lbs.).
Stage 3: Tighten to 50 Nm (37 ft. lbs.).





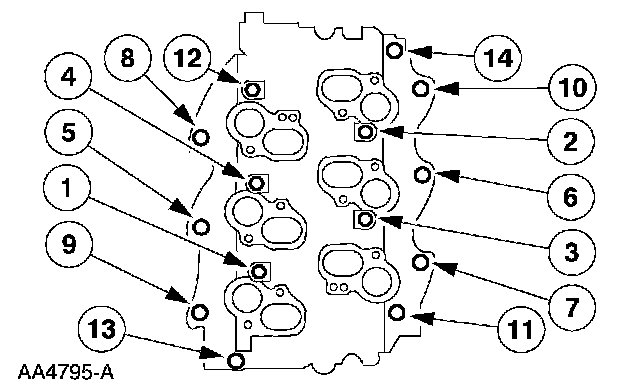
- CAUTION: Do not loosen all of the bolts at one time. Each bolt must be loosened and final-tightened prior to working on the next bolt in the sequence.

- NOTE: The short bolts are numbered 2, 4, 6 and 8 and the long bolts are numbered 1, 3, 5 and 7.

Loosen, then tighten the bolts in the sequence shown:
Tighten short bolts to 25 Nm (18 ft. lbs.), then tighten an additional 180 degrees.
Tighten long bolts to 45 Nm (33 ft. lbs.), then tighten an additional 180 degrees.





Exhaust manifold studs Nm (71 inch lbs.)
Exhaust manifold-to-cylinder head nuts 33 Nm (24 ft. lbs.)
Camshaft sprocket bolt 45 Nm (33 ft.lbs.)





Lower Intake Manifold
Stage 1: Tighten to 10 Nm (89 inch lbs.)
Stage 2: Rotate an additional 90 degrees (1/4 turn)





Upper Intake Manifold
Stage 1: Tighten the bolts to 5 Nm (44 inch lbs.)
Stage 2: Tighten the bolts to 10 Nm (89 inch lbs.)