FREE REPAIR MANUALS & LABOR GUIDES 1982-2013 Vehicles
Courtesy of Operation CHARM: Car repair manuals for everyone.

Installation





Special Tool(s)

Installation
1. Make sure that the torque converter is installed correctly.





2. NOTE: Lubricate the torque converter pilot hub with multi-purpose grease.

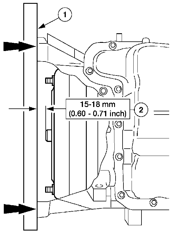
Check the installation depth of the torque converter.
1. Lay a steel straightedge on the automatic transaxle flange.
2. Check the installation depth between the transaxle flange and the torque converter centering spigot for the correct clearance.





3. Remove the special tool.
4. Using a high-lift jack, secure the transaxle using a safety strap.

5. NOTE: Make sure that the dowel pins are installed in the engine block prior to installing the transaxle.

Move the transaxle into position.





6. NOTE: The location of the different length bolts.

Install the three LH converter housing bolts.





7. Install the three RH converter housing bolts.





8. CAUTION: Only rotate the engine in a clockwise direction or engine damage will occur.

NOTE: Only install new self-locking nuts.

Using the four nuts, install the torque converter to the flexplate.
9. Remove the safety strap from the transaxle.





10. Install the fluid filler tube.





11. Install the engine rear mount bracket.





12. Install the engine rear mount.





13. Install the fluid cooler tubes.





14. Connect the output speed (OSS) sensor electrical connector.





15. NOTE: Install a new snap ring.

Install the LH front drive halfshaft.





16. NOTE: Install new nuts and a new center bearing cap.

Install the RH front halfshaft together with the intermediate shaft.





17. Install the mounting bracket for the front drive halfshaft intermediate bearing.





18. Install both of the lower control arms to the knuckles.
1. Connect the suspension arm ball joint.
2. Install the bolt.





19. Install both of the tie-rod ends to the knuckles.





20. Connect the stabilizer bar at the strut.





21. Install the engine RH support insulator.





22. Install the starter isolator.





23. Install the starter motor and insert the three bolts.





24. Connect the starter motor electrical connectors.





25. Connect the bracket to the starter stud.





26. Install the fluid filler tube and shift cable bracket bolts.





27. NOTE: The location of the different length bolts.

Install the upper center converter housing bolts.





28. Install the shift cable into the clip.





29. Connect the turbine shaft speed (TSS) sensor electrical connector.





30. Connect the electrical connectors and install the selector lever cable to the automatic transaxle selector lever.
1. Transmission range (TR) sensor.
2. Transaxle solenoid electrical connector.
31. Using the engine support bar, raise the engine and transaxle assembly slightly.





32. Tighten the LH strut and spring assembly top mount nuts.





33. Install the air cleaner resonator.
1. Install the resonator and nuts.
2. Connect the air cleaner outlet hose.
3. Connect the crankcase ventilation hose.





34. NOTE: When the battery has been disconnected and reconnected, some abnormal drive symptoms may occur while the vehicle relearns its adaptive strategy. The vehicle may need to be driven to relearn the strategy.

Install the battery tray and battery.
35. Fill the transaxle with clean automatic transmission fluid.