FREE REPAIR MANUALS & LABOR GUIDES 1982-2013 Vehicles
Courtesy of Operation CHARM
:
Car repair manuals for everyone.
Home
>>
Ford
>>
2004
>>
Focus L4-2.3L VIN Z
>>
Repair and Diagnosis
>>
Specifications
>>
Mechanical Specifications
>>
Engine
>>
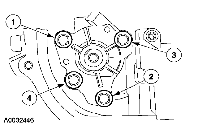
Oil Pump, Engine
Oil Pump, Engine
Oil pump bolts.
Stage 1: Tighten the bolts
10 Nm (89 inch lbs.)
Stage 2: Tight the bolts
23 Nm (17 ft. lbs.)