FREE REPAIR MANUALS & LABOR GUIDES 1982-2013 Vehicles
Courtesy of Operation CHARM: Car repair manuals for everyone.

Undeployed Air Bag

AIR BAG DISPOSAL - UNDEPLOYED AIR BAG, SCRAPPED VEHICLE


Test And Deployment Lead, Air Bag/Pyrotechnic Safety Belt:






SPECIAL TOOL(S)

General Equipment
12 volt battery

All vehicles

WARNING:
- To minimize the possibility of injury in the event of premature deployment, always carry a live air bag module with the bag and trim cover pointed away from the body. Failure to follow this instruction may result in personal injury.
- To minimize the possibility of premature deployment, live air bag modules must only be placed on work benches which have been ground bonded. Failure to follow this instruction may result in personal injury.


1. Disconnect the battery ground cable.
2. Remove the air bag module(s) to be deployed.

Single stage air bag modules







3. Connect the test lead to the air bag module and the adapter (driver air bag module shown).

Two stage air bag modules







4. CAUTION: Do not connect both test leads to the adapter. Both air bag module inflators must be deployed separately.

Connect two test leads to the air bag module and the other end of one of the test leads to the adapter (driver air bag module shown).

All air bag modules







5. CAUTION: To protect the test lead electrical connector(s) from damage during deployment, raise the air bag module off the ground on two wooden blocks.

Place the air bag module inside a suitable rigid wire cage with the air bag module cover uppermost.







6. Connect the deployment lead to the adapter.







7. WARNING: Before proceeding make sure that all personnel in the vicinity are aware that a loud noise (bang) is about to occur. Do not let anybody approach closer than six meters. Failure to follow this instruction may result in personal injury.

Move as far away as possible from the air bag module and connect the deployment lead to the battery.







8. CAUTION:
- The air bag module should not be handled immediately following deployment as the air bag module will be very hot.
- After deployment, the air bag module surface may contain deposits of sodium hydroxide, a product of the gas generate combustion, that is irritating to the skin. Use protective gloves when handling any deployed air bag module.


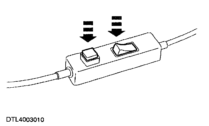
Depress both switches to deploy the air bag.

Two stage air bag modules







9. Connect the second test lead to the adapter.







10. WARNING: Before proceeding make sure that all personnel in the vicinity are aware that a loud noise (bang) is about to occur. Do not let anybody approach closer than six meters. Failure to follow this instruction may result in personal injury.

CAUTION:
- The air bag module should not be handled immediately following deployment as the air bag module will be very hot.
- After deployment, the air bag module surface may contain deposits of sodium hydroxide, a product of the gas generate combustion, that is irritating to the skin. Use protective gloves when handling any deployed air bag module.


Depress both switches to deploy the air bag.

All air bag modules
11. Deployed air bag module(s) should be sealed in a suitable bag and then disposed of in accordance with local contaminated waste regulations.