FREE REPAIR MANUALS & LABOR GUIDES 1982-2013 Vehicles
Courtesy of Operation CHARM: Car repair manuals for everyone.

Intake Manifold: Service and Repair

Intake Manifold

Removal
1. Remove the cooling fan motor and shroud.





2. Remove the lower intake manifold bolt.





3. Remove the accelerator control snow shield.





4. Remove the air cleaner outlet tube.
^ Loosen the retaining clamps.
^ Remove the emissions breather tube.
^ Remove the air cleaner outlet tube.





5. Disconnect the throttle position (TP) sensor electrical connector and position the wiring harness aside.





6. Disconnect the idle air control (IAC) valve electrical connector and position the wiring harness aside.





7. Disconnect the throttle cables from the intake manifold.
1. Disconnect the accelerator cable and speed control cable (if so equipped) from the throttle linkage.
2. Remove the bolts from the accelerator cable bracket and position aside.





8. Remove the evaporative emissions hoses.





9. Disconnect the temperature manifold absolute pressure (TMAP) sensor electrical connector.





10. Disconnect the electrical connectors and position the wiring harness aside.





11. Disconnect the outward intake manifold runner control (IMRC) actuator electrical connector.





12. Disconnect the vacuum hose from the fuel pressure regulator.





13. Disconnect the power brake booster vacuum tube.
Disconnect the quick release coupling and pull out the line.





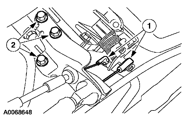
14. Remove the two oil level indicator tube bolts.





15. NOTE: Engine shown removed for clarity.

NOTE: There are two different size bolts used. Mark the location of the bolts to ensure installation in the correct location.

Remove the seven intake manifold bolts.





16. Raise the intake manifold enough to gain clearance to disconnect the knock sensor (KS) wiring harness.





17. Disconnect the positive crankcase ventilation (PCV) hose.
18. Remove the intake manifold.

Installation





1. Inspect and install new intake manifold gaskets, if necessary.





2. Install the PCV hose.





3. Connect the KS wiring harness.





4. NOTE: Engine removed for clarity.

NOTE: Be sure to install the bolts in the previously marked locations.

Install the intake manifold and the seven mounting bolts.





5. Install the two oil level indicator tube bolts.





6. Reconnect the brake booster tube.





7. Install the fuel pressure regulator vacuum hose.





8. Connect the outward intake manifold runner control (IMRC) actuator electrical connector.





9. Connect the wiring harness and connectors.





10. Connect the TMAP sensor electrical connector.





11. Connect the evaporative emissions hoses.





12. Install the accelerator cable bracket.
1. Install the accelerator cable bracket.
2. Install the accelerator cable and speed control cable (if equipped).





13. Connect the IAC wiring harness and connector.





14. Connect the TP sensor electrical wiring harness and connector.





15. Install the air cleaner outlet tube.





16. Install the accelerator control snow shield.
17. Install the cooling fan motor and shroud.





18. Install the lower intake bolt.