FREE REPAIR MANUALS & LABOR GUIDES 1982-2013 Vehicles
Courtesy of Operation CHARM
:
Car repair manuals for everyone.
Home
>>
Ford
>>
1993
>>
Thunderbird V6-232 3.8L SC
>>
Repair and Diagnosis
>>
Diagrams
>>
Electrical Diagrams
>>
Powertrain Management
>>
Computers and Control Systems
>>
Main Relay (Computer/Fuel System)
Main Relay (Computer/Fuel System)
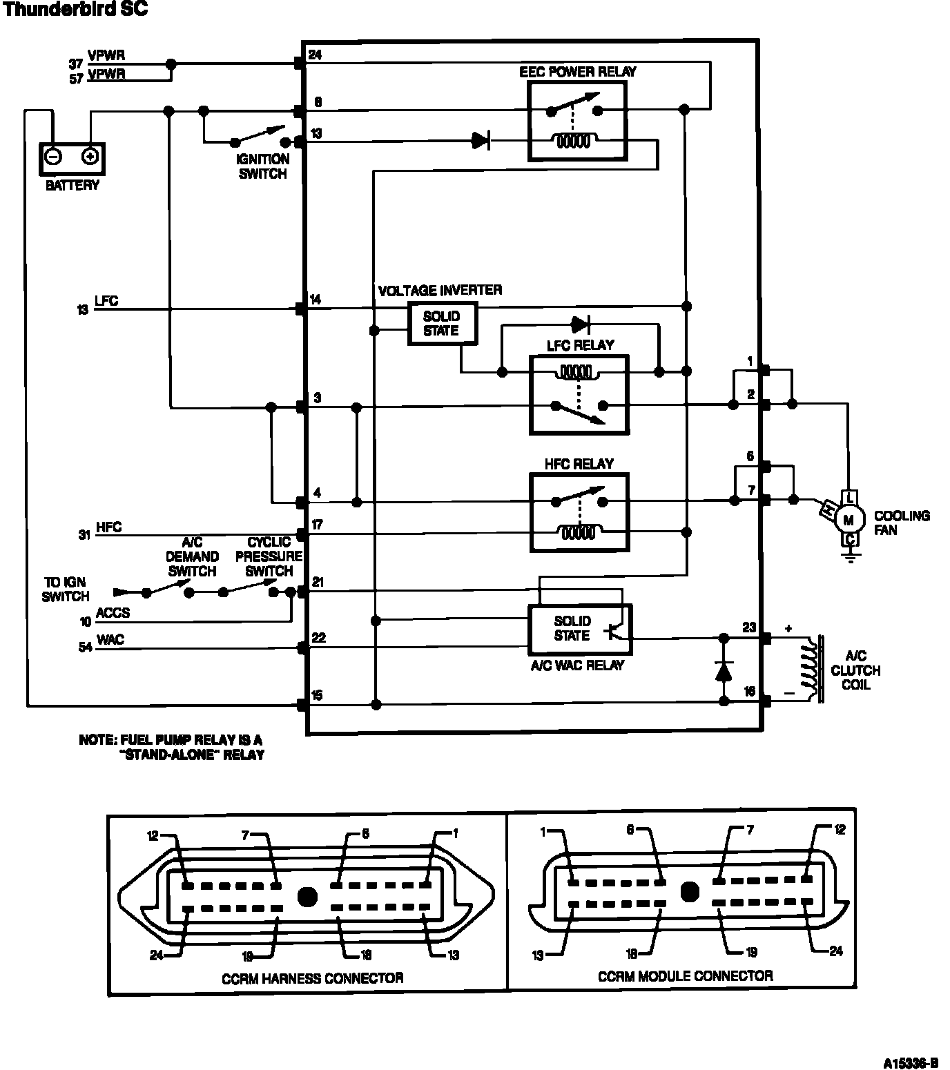
Constant Control Relay Module (CCRM) Schematic:
ELECTRICAL DIAGRAM
Constant Control Relay Module (CCRM) Pin Usage:
PINOUT IDENTIFICATION