FREE REPAIR MANUALS & LABOR GUIDES 1982-2013 Vehicles
Courtesy of Operation CHARM
:
Car repair manuals for everyone.
Home
>>
Ford
>>
1993
>>
Taurus V6-195 3.2L DOHC SHO
>>
Repair and Diagnosis
>>
Diagrams
>>
Connector Views
>>
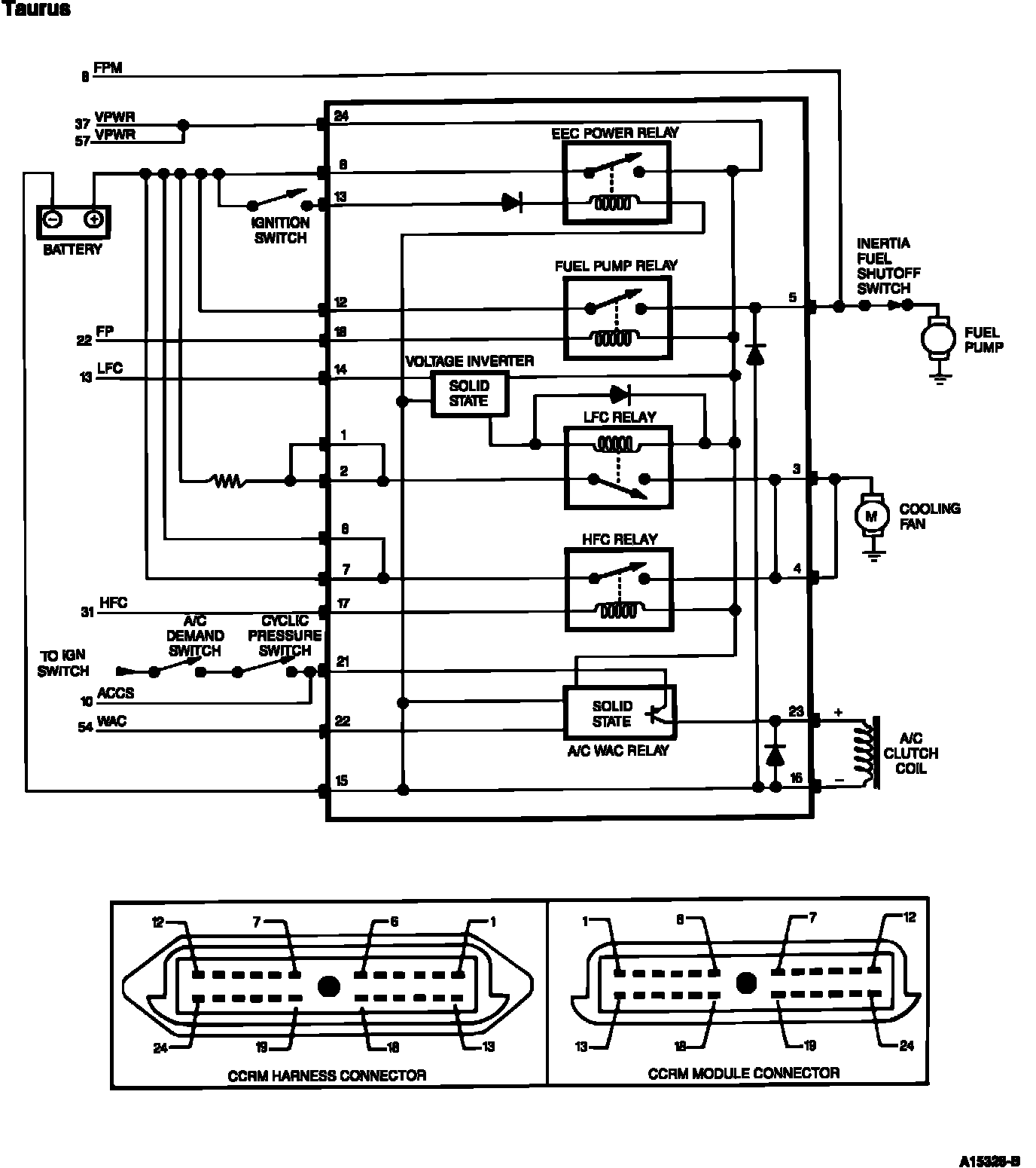
Main Relay (Computer/Fuel System)
Main Relay (Computer/Fuel System)
Constant Control Relay Module (CCRM) Schematic:
Constant Control Relay Module (CCRM) Pin Usage: