FREE REPAIR MANUALS & LABOR GUIDES 1982-2013 Vehicles
Courtesy of Operation CHARM
:
Car repair manuals for everyone.
Home
>>
Ford
>>
1993
>>
Probe V6-152 2.5L DOHC
>>
Repair and Diagnosis
>>
Power and Ground Distribution
>>
Fuse Block
>>
Application and ID
>>
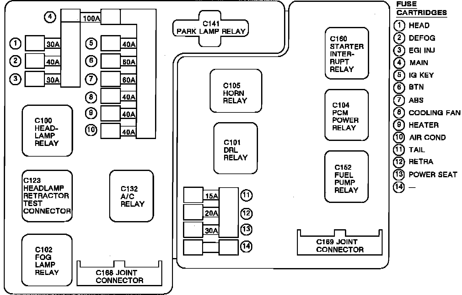
Main Fuse Panel
Main Fuse Panel
Engine Compartment Fuse Panel:
Circuit Protector: