FREE REPAIR MANUALS & LABOR GUIDES 1982-2013 Vehicles
Courtesy of Operation CHARM: Car repair manuals for everyone.

Ignition Switch: Service and Repair

Ignition Switch

Removal and Installation
1. Disconnect the battery ground cable.





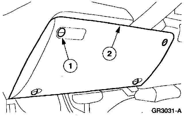
2. CAUTION: Use care when removing the instrument panel steering column cover or damage to the cover locating tab may occur.

Remove the instrument panel steering column cover.
1 Unlock the retainers.
2 Remove the instrument panel steering column cover.





3. If equipped, remove the tilt wheel handle.





4. Remove the lower steering column shroud.
1 Remove the screws.
2 Remove the lower steering column shroud.





5. Disconnect the ignition switch electrical connector.
1 Remove the electrical connector boll.
2 Disconnect the electrical connector.





6. Remove the ignition switch.
1 Remove the screws.
2 Remove the ignition switch.
7. To install, reverse the removal procedure.