FREE REPAIR MANUALS & LABOR GUIDES 1982-2013 Vehicles
Courtesy of Operation CHARM: Car repair manuals for everyone.

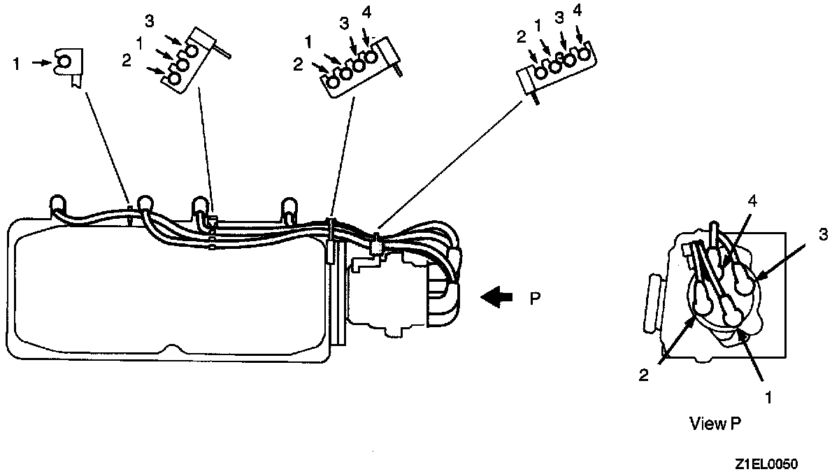
Ignition Cable: Service and Repair

Spark Plug Cable Installation:





Improper arrangement of spark plug cables will induce voltage between the cables, causing miss firing and developing a surge at acceleration in high-speed operation. Therefore, be careful to arrange the spark plug cables properly by the following procedure.
1. Install the spark plug cable clamps as shown in the illustration.
2. The numerals on the support and clamp indicate the spark plug cable no.
3. Pay attention to the following items when the spark plug cables are installed.
a. Install the cables securely to avoid possible contact with metal parts.
b. Install the cables neatly, ensuring they are not too tight, loose, twisted or kinked