FREE REPAIR MANUALS & LABOR GUIDES 1982-2013 Vehicles
Courtesy of Operation CHARM
:
Car repair manuals for everyone.
Home
>>
Dodge
>>
1993
>>
Colt L4-1795cc 1.8L SOHC
>>
Repair and Diagnosis
>>
Diagrams
>>
Connector Views
>>
Powertrain Management
>>
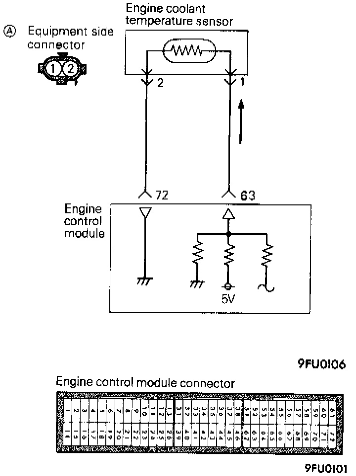
Coolant Temperature Sensor/Switch (For Computer)
Coolant Temperature Sensor/Switch (For Computer)