FREE REPAIR MANUALS & LABOR GUIDES 1982-2013 Vehicles
Courtesy of Operation CHARM: Car repair manuals for everyone.

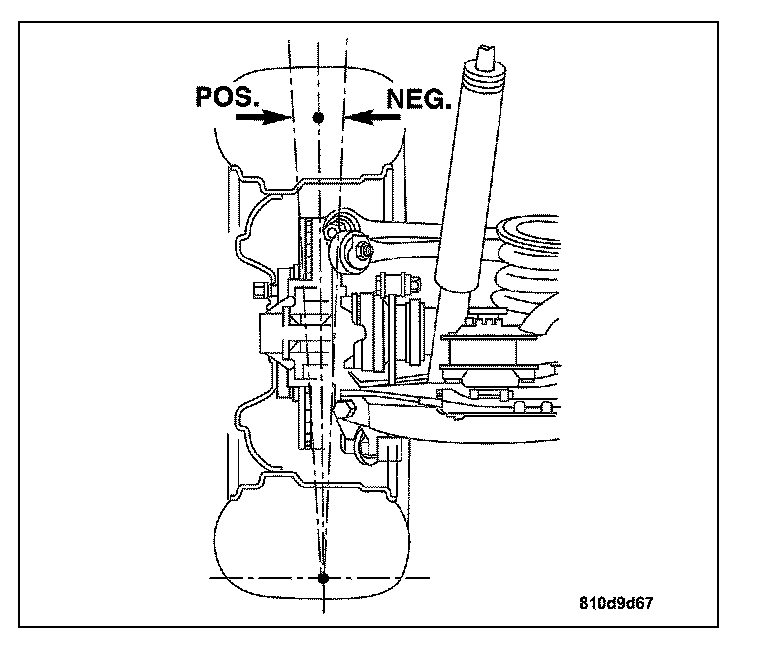
Checking Rear Axle Camber

CHECKING REAR AXLE CAMBER

1. Check the vehicle level at the front and rear axles and adjust if necessary.
2. Check the vehicle level at the front and rear axles with an electronic inclinometer and adjust if necessary.





3. Check the rear axle camber. (POS+) = Positive Camber, (NEG-) = Negative Camber. Rear Camber specification is �1.13 (+/- 0.5)°. The camber on the rear axle is not adjustable. If substantial deviations in the rear axle camber are found, the cause may be one of the following:
^ Too great a difference in the vehicle level between the right and left-hand sides of vehicle.
^ Camber strut bent.
^ Accident damage to the frame floor. Level differences at the mounting points for the rear axle carrier between the left and right sides of the body. Experience shows that bending caused by an accident also has an effect on the toe.