FREE REPAIR MANUALS & LABOR GUIDES 1982-2013 Vehicles
Courtesy of Operation CHARM: Car repair manuals for everyone.

Engine Controls/Lighting - Service Manual Revisions

NUMBER: 08-73-94

GROUP: Electrical

DATE: Dec. 23, 1994

REVISIONS ARE HIGHLIGHTED WITH **ASTERISKS**

Models:
1995 Cirrus/Stratus - Publication No. 81-270-5121

DESCRIPTION OF CHANGES

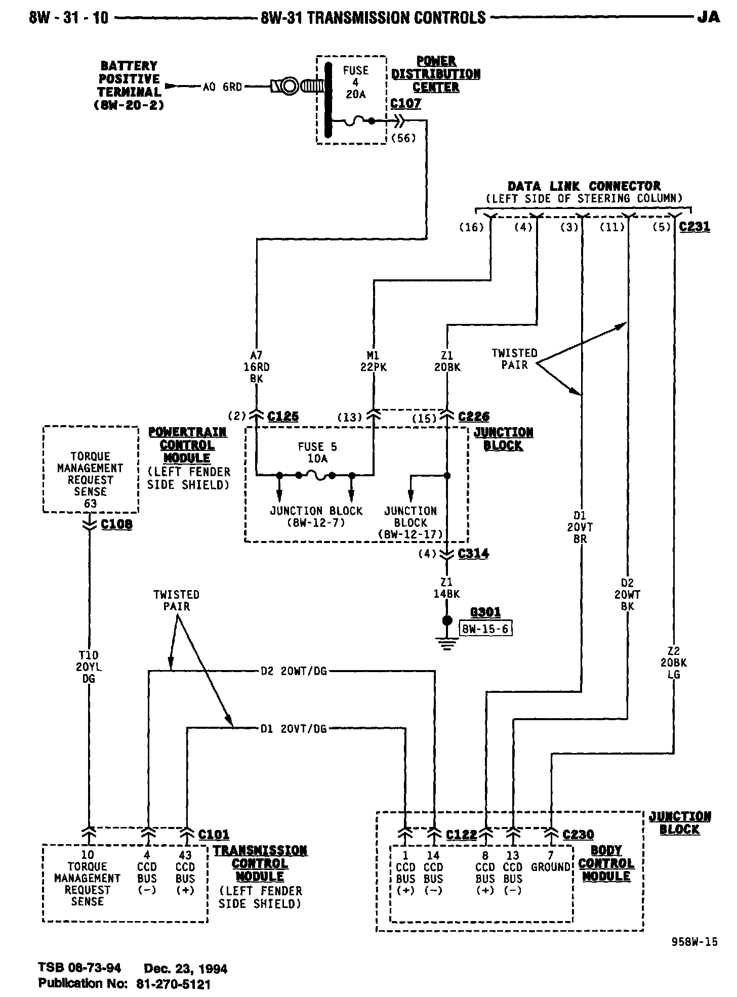
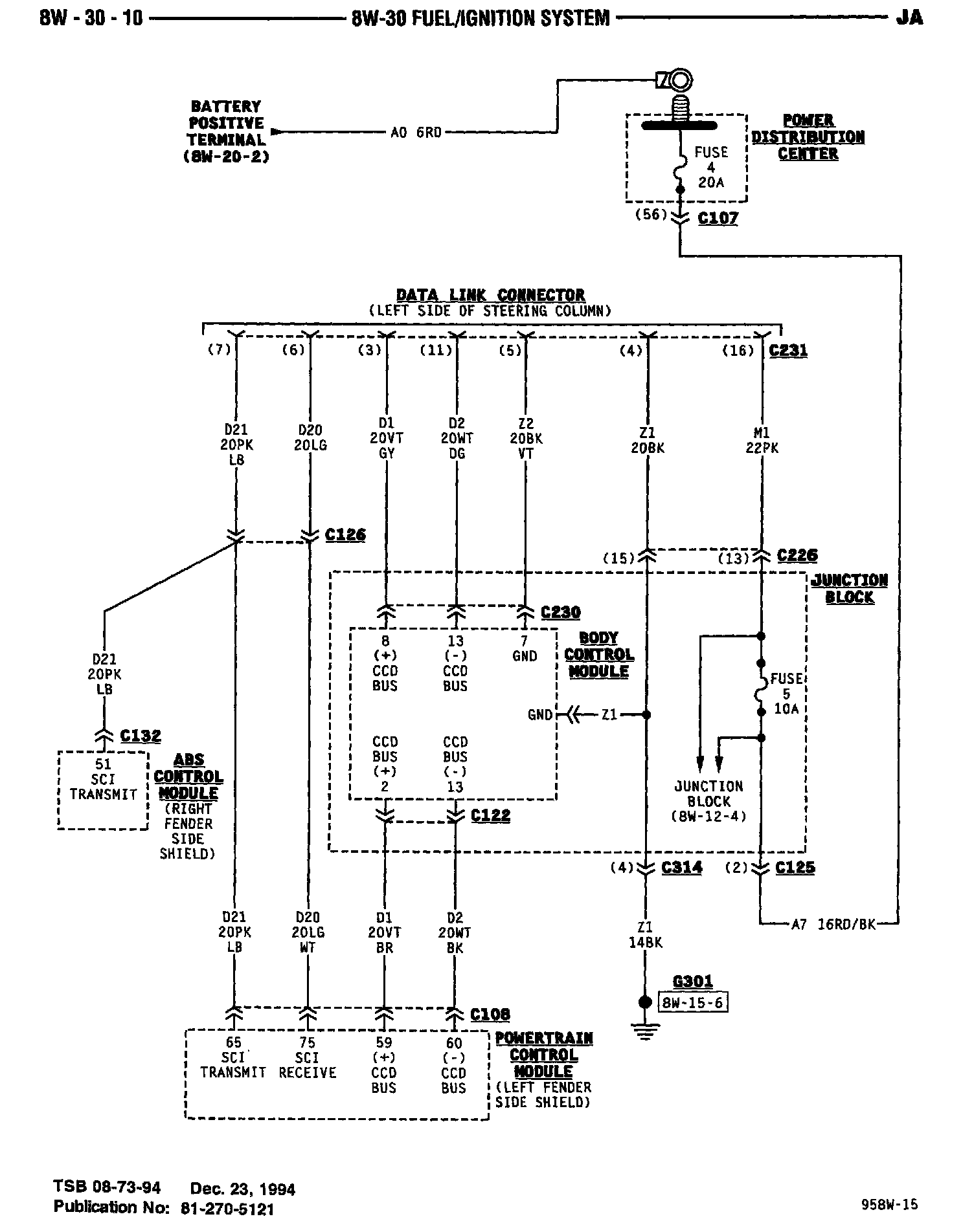
Data Link Connector Wiring





8W-30-10





8W-31-10





8W-32-3





8W-45-4





8W-80-31

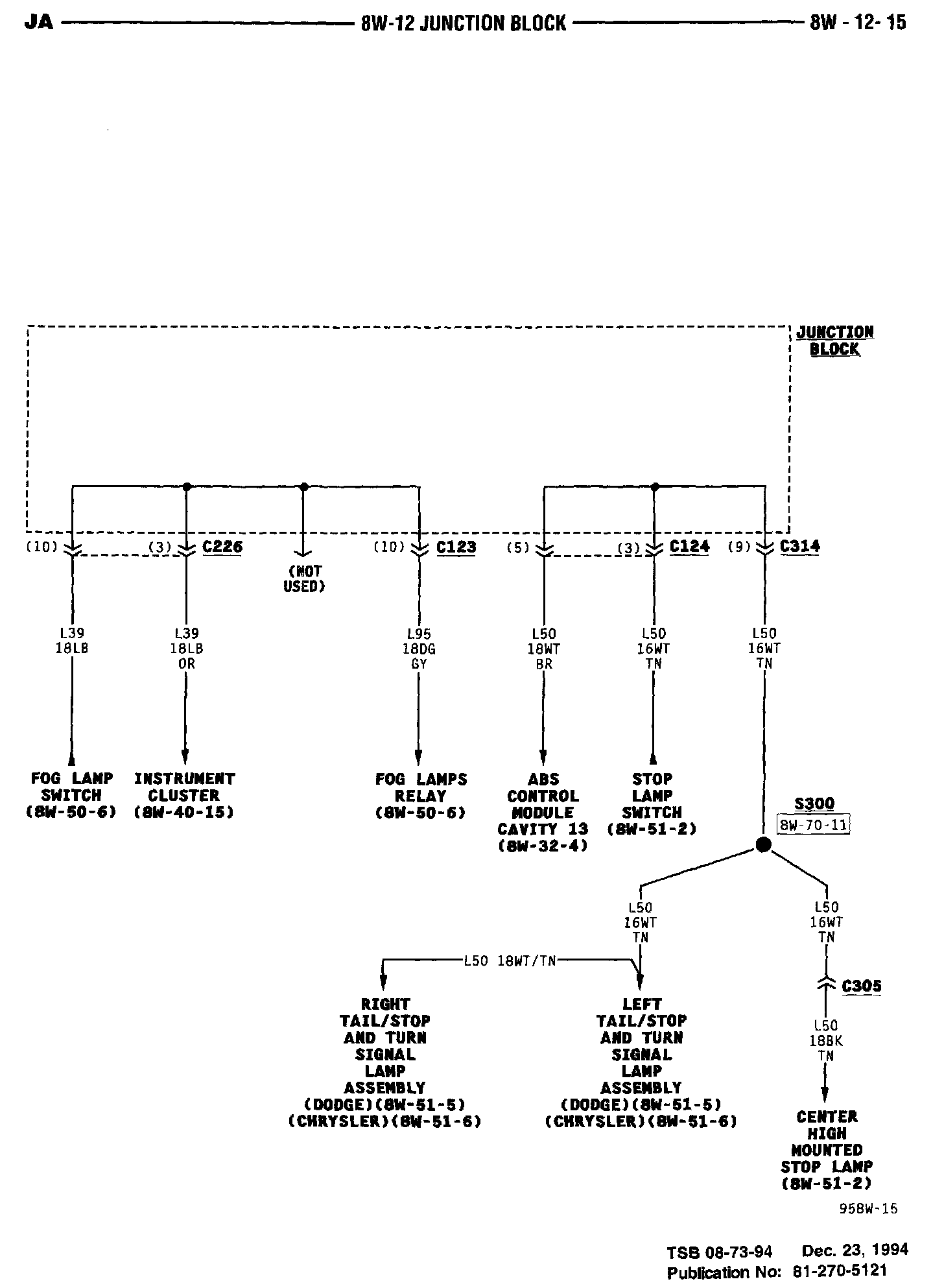
Fog Lamp Wiring





8W-11-1





8W-11-2





8W-11-5





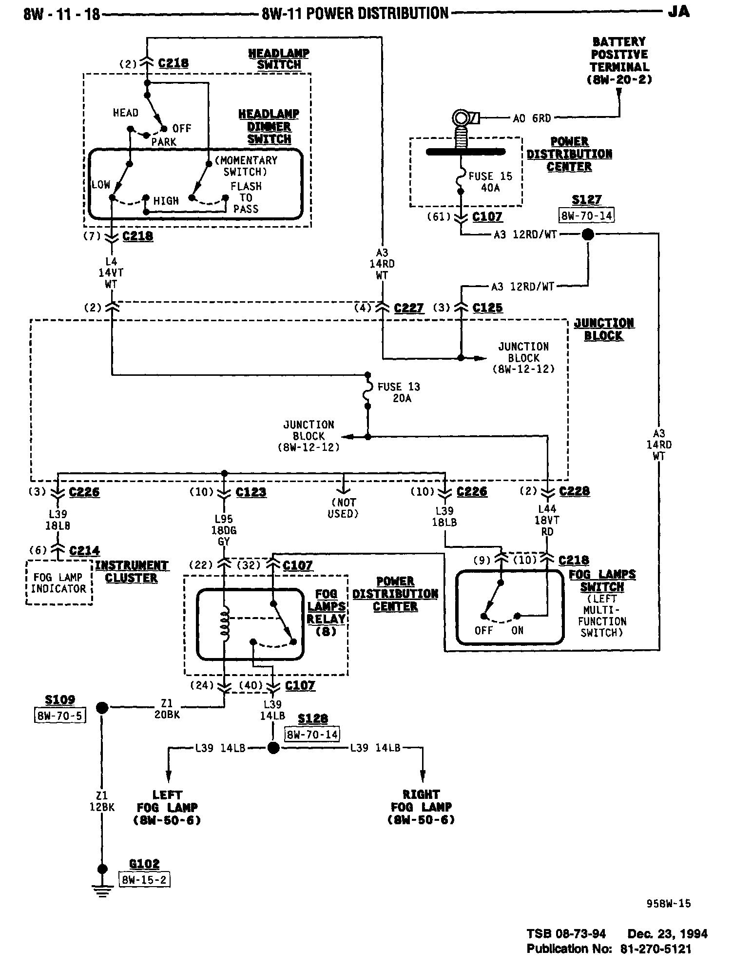
8W-11-15





8W-11-18





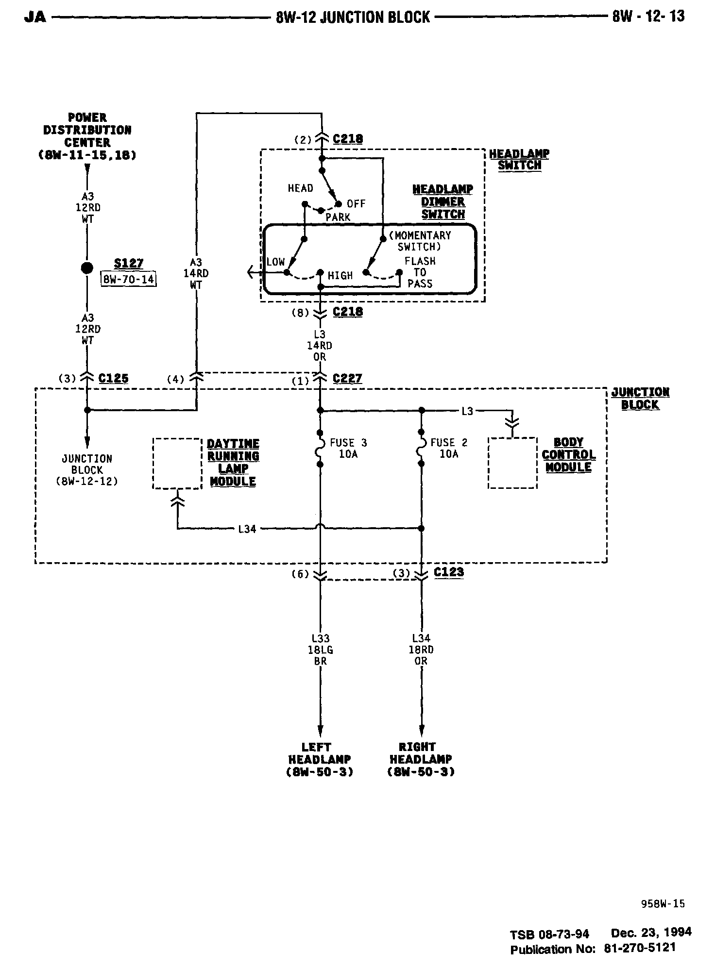
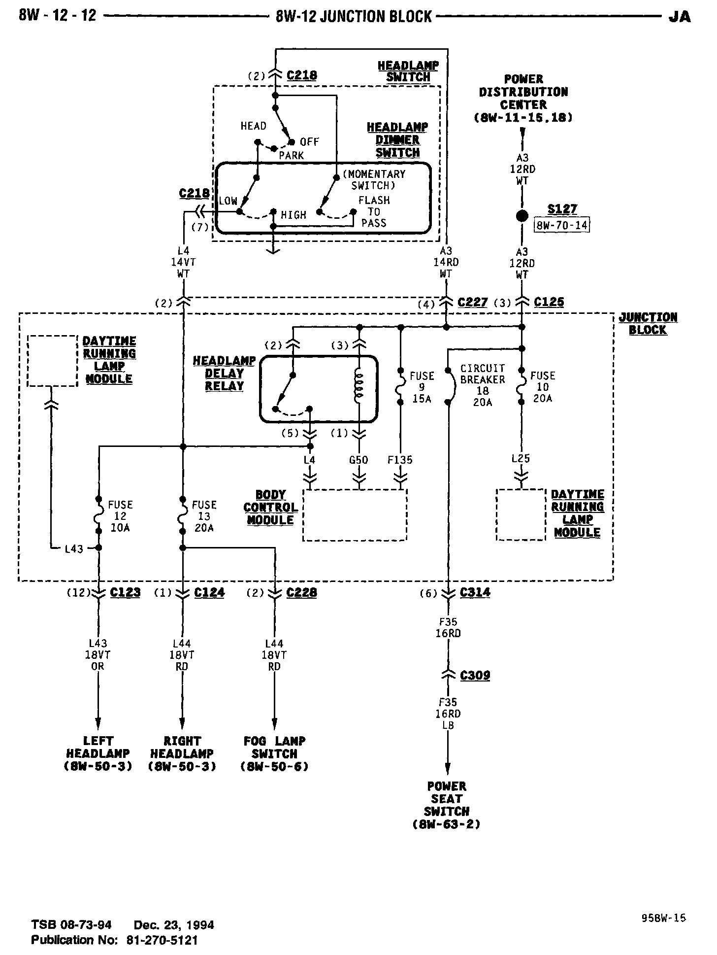
8W-12-12





8W-12-13





8W-12-15





8W-15-2





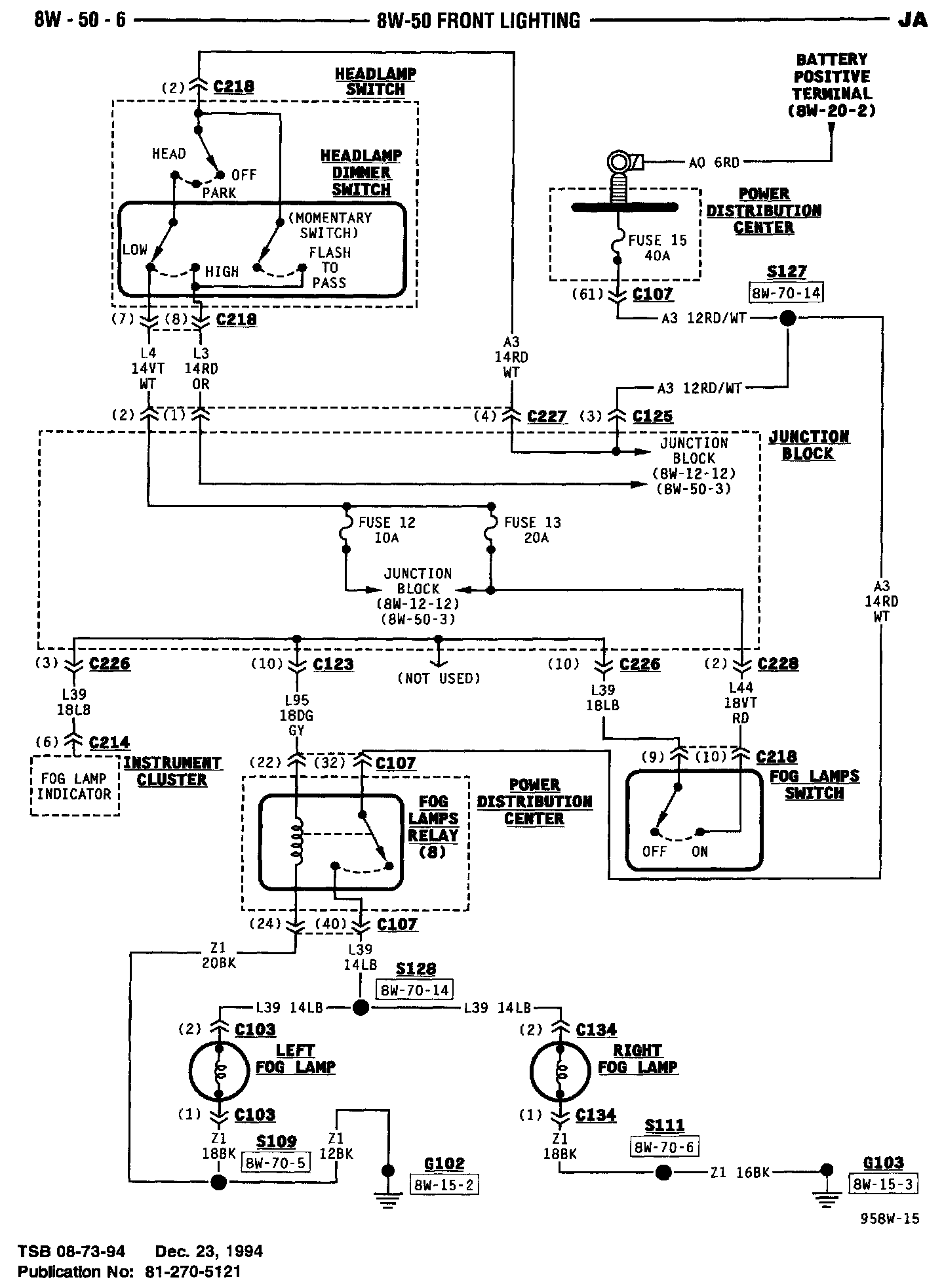
8W-50-1





8W-50-2





8W-50-6





8W-70-1





8W-70-14





8W-80-10





8W-95-1