FREE REPAIR MANUALS & LABOR GUIDES 1982-2013 Vehicles
Courtesy of Operation CHARM: Car repair manuals for everyone.

Thread Repair Specifications

Thread Repair Specifications











Engine Block - Front View








Engine Block- Back View








Engine Block- Left Side view











Engine Block- Bottom View








Engine Block - Right Side View








Engine Block - Top View








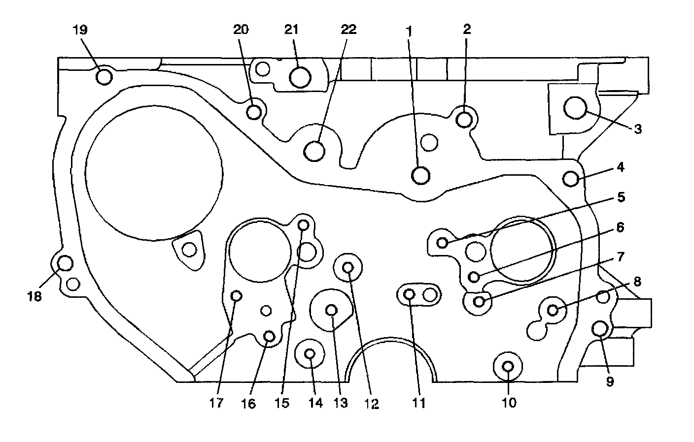
Lower Crankscase - Front View








Lower Crankcase- Back View








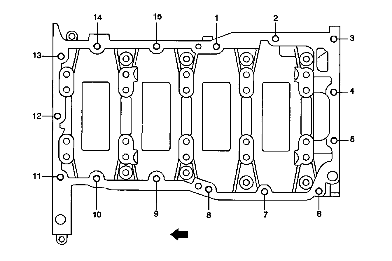
Lower Crankcase- Bottom View








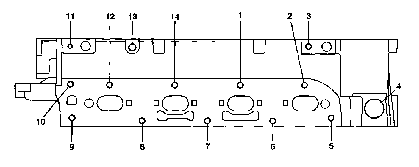
Lower Crankcase-Left View








Lower Crankcase - Right View











Cylinder Head-Top View








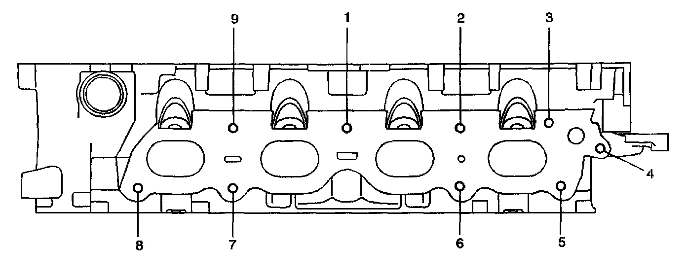
Cylinder Head - Intake Manifold Deck View








Cylinder Head - Exhaust Manifold Deck View








Cylinder Head - Front View








Cylinder Head - Back View








Cylinder Head - Bottom View