FREE REPAIR MANUALS & LABOR GUIDES 1982-2013 Vehicles
Courtesy of Operation CHARM
:
Car repair manuals for everyone.
Home
>>
Chevrolet
>>
2004
>>
Malibu L4-2.2L VIN F
>>
Repair and Diagnosis
>>
Diagrams
>>
Connector Views
>>
Engine Control Module
>>
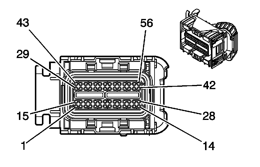
Powertrain Control Module (PCM) C3
Powertrain Control Module (PCM) C3
Powertrain Control Module (PCM) C3
Connector Part Information
-
OEM: 15430209
-
Description: 56-Way F Micro-Pack Series Sealed (GY)
Powertrain Control Module (PCM) C3