FREE REPAIR MANUALS & LABOR GUIDES 1982-2013 Vehicles
Courtesy of Operation CHARM
:
Car repair manuals for everyone.
Home
>>
Chevrolet
>>
2004
>>
Impala V6-3.4L VIN E
>>
Repair and Diagnosis
>>
Diagrams
>>
Exploded Views
>>
Engine
>>
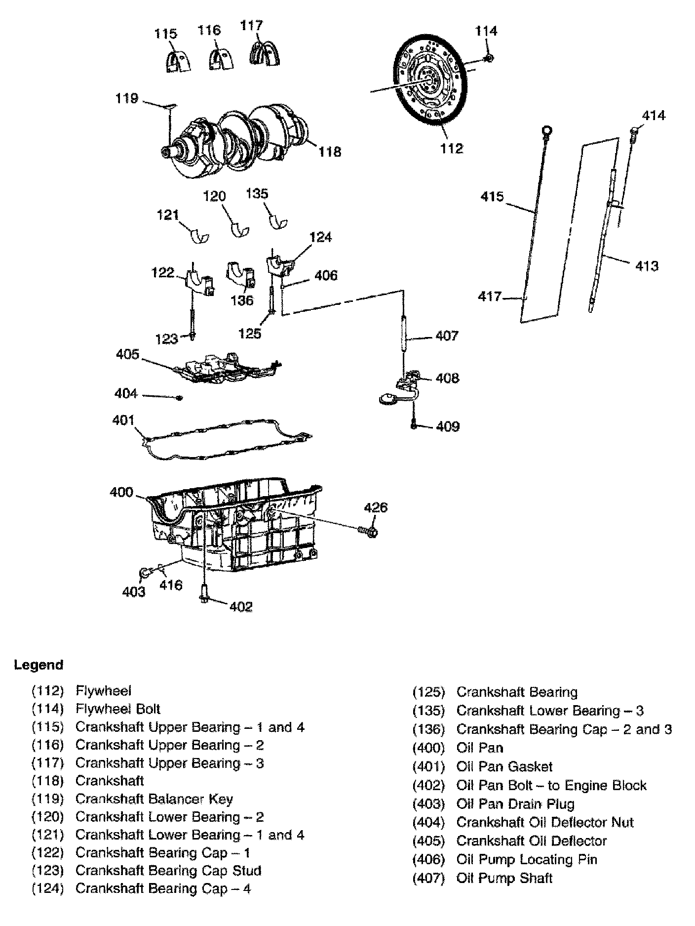
Crankshaft and Components
Crankshaft and Components
Part 1 Of 3:
Part 2 Of 3:
Part 3 Of 3: