FREE REPAIR MANUALS & LABOR GUIDES 1982-2013 Vehicles
Courtesy of Operation CHARM
:
Car repair manuals for everyone.
Home
>>
Chevrolet
>>
2004
>>
Corvette V8-5.7L VIN G
>>
Repair and Diagnosis
>>
Diagrams
>>
Electrical Diagrams
>>
Accessory Delay Module
Accessory Delay Module
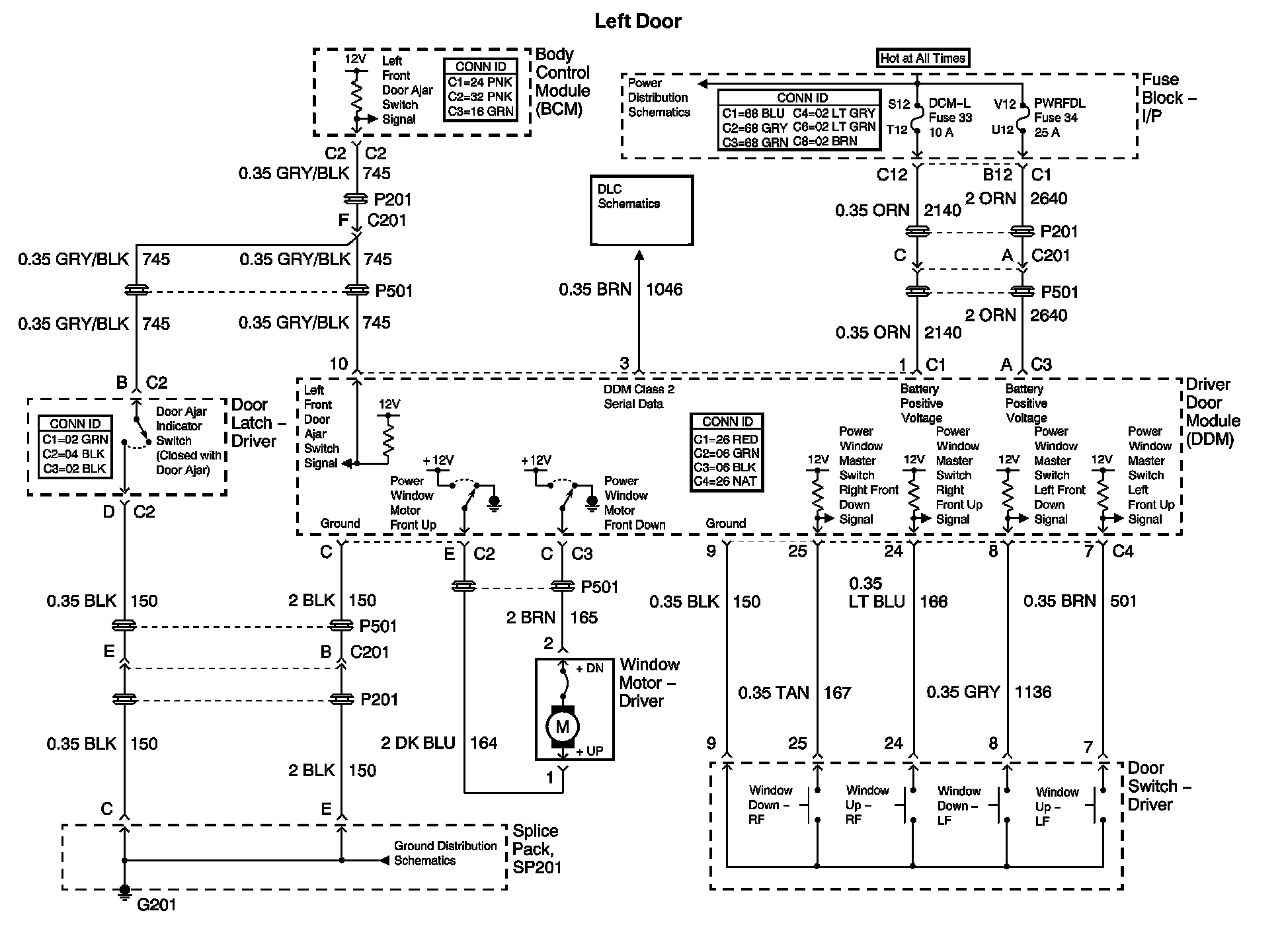
Retained Accessory Power (RAP) Diagram 1:
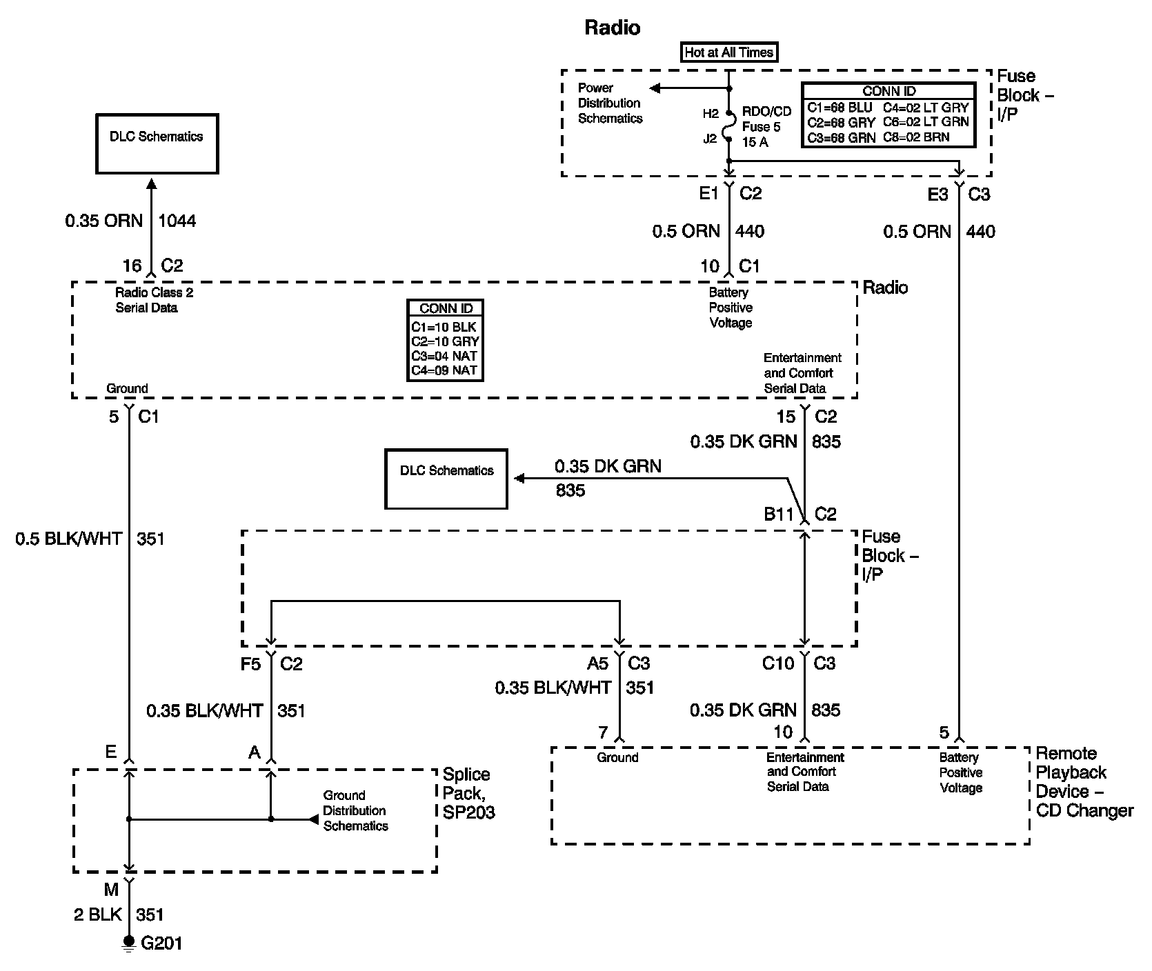
Retained Accessory Power (RAP) Diagram 2:
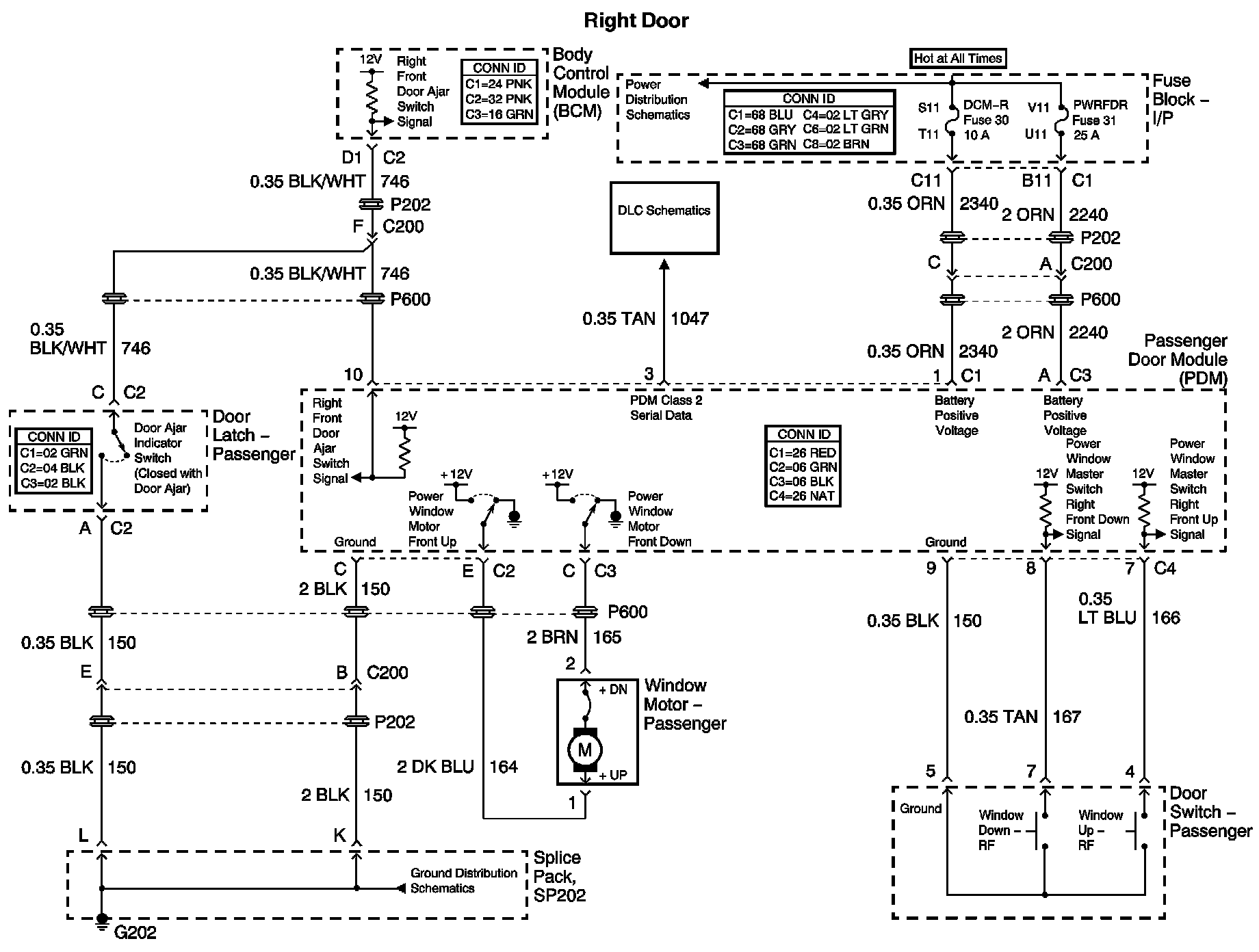
Retained Accessory Power (RAP) Diagram 3: