FREE REPAIR MANUALS & LABOR GUIDES 1982-2013 Vehicles
Courtesy of Operation CHARM: Car repair manuals for everyone.

Transmission

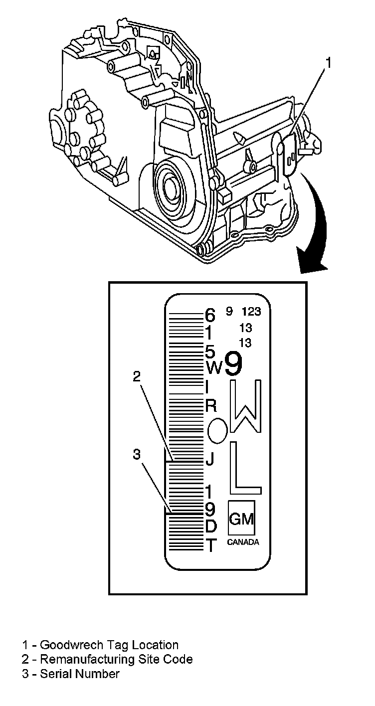
TRANSMISSION ID AND VIN DERIVATIVE LOCATION




4T40 E/4T45 E Transmission ID and VIN Derivative Location, MN4/MN5

VIN Derivative Location 4T40-E/4T45-E




The Vehicle Identification Number (VIN) Derivative location for the 4T40-E Transmission (1).