FREE REPAIR MANUALS & LABOR GUIDES 1982-2013 Vehicles
Courtesy of Operation CHARM
:
Car repair manuals for everyone.
Home
>>
Chevrolet
>>
2004
>>
Cavalier L4-2.2L VIN F
>>
Repair and Diagnosis
>>
Transmission and Drivetrain
>>
Transmission Control Systems
>>
Diagrams
>>
Electrical Diagrams
>>
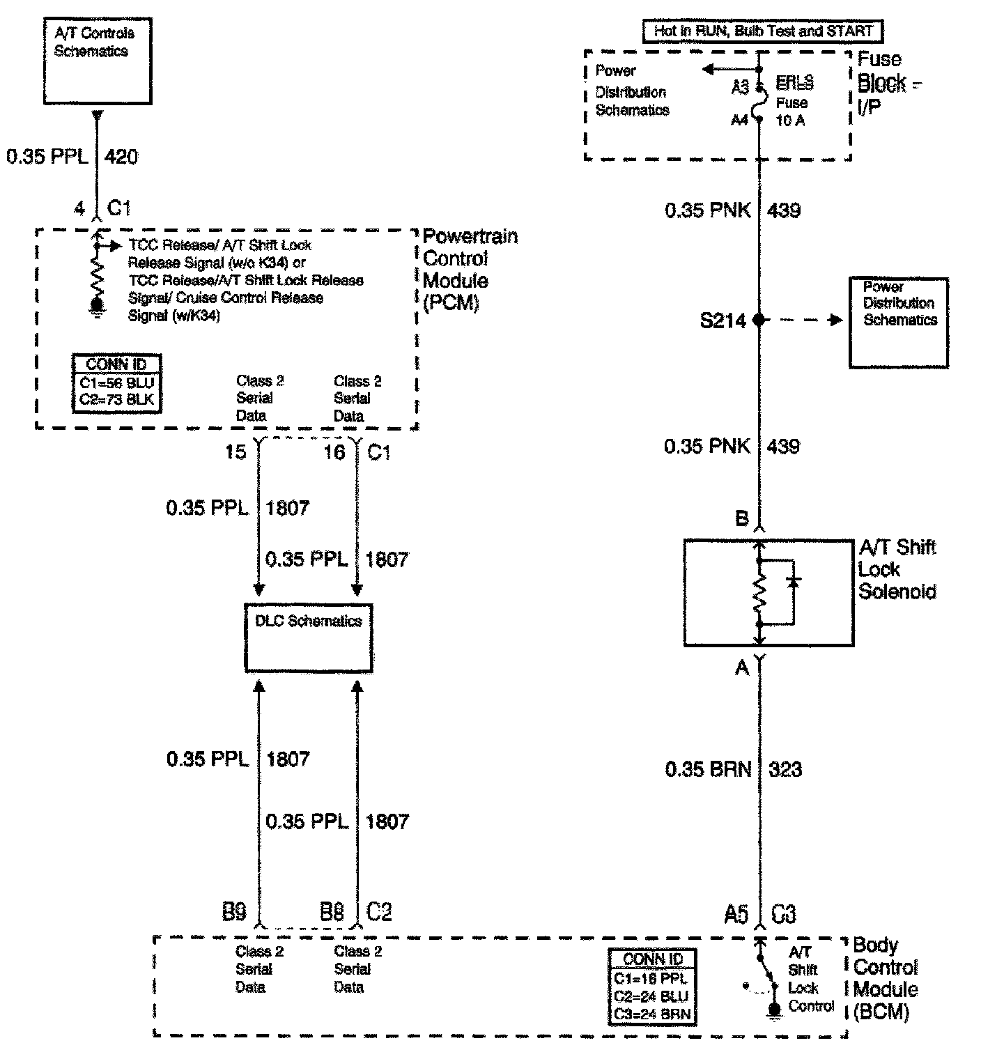
Shift Lock Control
Shift Lock Control
Automatic Transmission Shift Lock Control Schematics: