FREE REPAIR MANUALS & LABOR GUIDES 1982-2013 Vehicles
Courtesy of Operation CHARM: Car repair manuals for everyone.

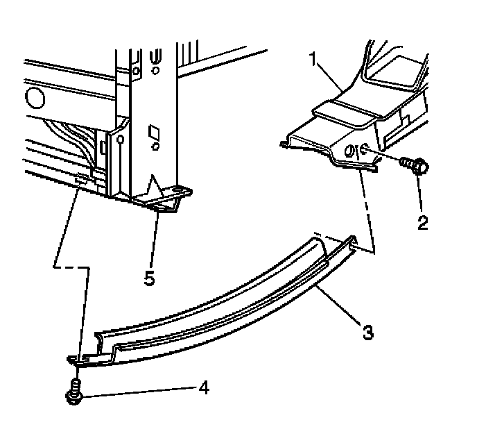
Strut / Shock Tower: Service and Repair

FRONT SUSPENSION SUPPORT BRACE REPLACEMENT

REMOVAL PROCEDURE
1. Raise the vehicle on a hoist. Refer to Vehicle Lifting.







2. Remove the bolt (2) from the front suspension support brace (3) and the front suspension crossmember (1).
3. Remove the bolt (4) from the front suspension support brace (3) and the lower tie bar (5).
4. Remove the front suspension support brace (3) from the vehicle.



INSTALLATION PROCEDURE







1. Install the front suspension support brace (3) to the vehicle.
2. Install the bolt (4) to the suspension support brace (3) and lower the tie bar (5).
Hand tighten the bolt.

3. Install the bolt (4) to the front suspension support brace (3) and the front suspension crossmember (1).

NOTE: Refer to Fastener Notice in Service Precautions.
Fastener Notice


Tighten
Tighten the bolts to 72 N.m (53 lb ft).

4. Lower the vehicle.