FREE REPAIR MANUALS & LABOR GUIDES 1982-2013 Vehicles
Courtesy of Operation CHARM
:
Car repair manuals for everyone.
Home
>>
Chevrolet
>>
1987
>>
Spectrum-Import L4-91.5 1509cc 1.5L VIN 7 2-bbl
>>
Repair and Diagnosis
>>
Diagrams
>>
Components
>>
Relays
>>
Main Engine Relay
Main Engine Relay
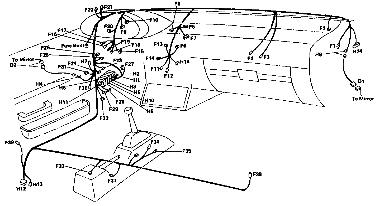
Dash Wiring:
Main Relay: Connector number F24 (LH side of I/P)