FREE REPAIR MANUALS & LABOR GUIDES 1982-2013 Vehicles
Courtesy of Operation CHARM: Car repair manuals for everyone.

Absolute Pressure Sensor: Locations




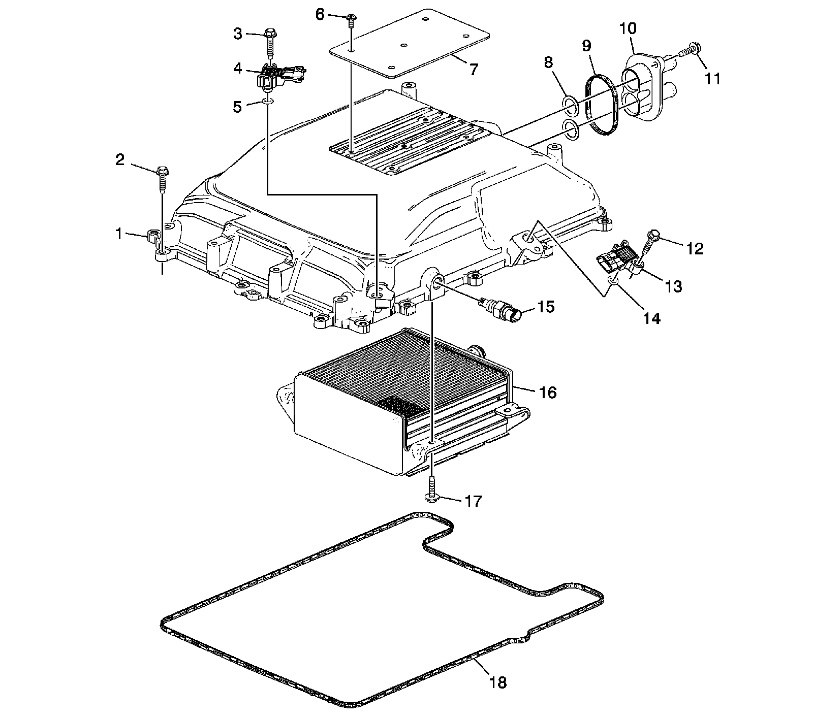
Disassembled Views

Supercharger Cover Assembly




1 - Charge Air Cooler Cover
2 - Charge Air Cooler Cover Bolt
3 - Barometric Pressure Sensor Bolt
4 - Barometric Pressure Sensor
5 - Barometric Pressure Sensor Seal
6 - Isolator Pad Bolt
7 - Isolator Pad
8 - Charge Air Cooler Coolant Pipe Seal
9 - Charge Air Cooler Coolant Outlet Pipe Assembly Seal
10 - Charge Air Cooler Coolant Outlet Pipe Assembly
11 - Charge Air Cooler Coolant Outlet Pipe Assembly Bolt
12 - Supercharger Air Outlet Pressure Sensor Bolt
13 - Supercharger Air Outlet Pressure Sensor
14 - Supercharger Air Outlet Pressure Sensor Seal
15 - Intake Air Temperature Sensor
16 - Charge Air Cooler
17 - Charge Air Cooler Bolt
18 - Charge Air Cooler Cover Seal