FREE REPAIR MANUALS & LABOR GUIDES 1982-2013 Vehicles
Courtesy of Operation CHARM: Car repair manuals for everyone.

Thread Repair Specifications




Thread Repair Specifications

Left Cylinder Head Camshaft Cover Face









Left Cylinder Head Front Face









Left Cylinder Head Intake Face









Left Cylinder Head Exhaust Face









Left Cylinder Head Rear Face









Right Cylinder Head Camshaft Cover Face









Right Cylinder Head Front Face









Right Cylinder Head Intake Face









Right Cylinder Head Exhaust Face









Right Cylinder Head Rear Face









Engine Block Front









Engine Block Left Side









Engine Block Right Side









Engine Block Rear









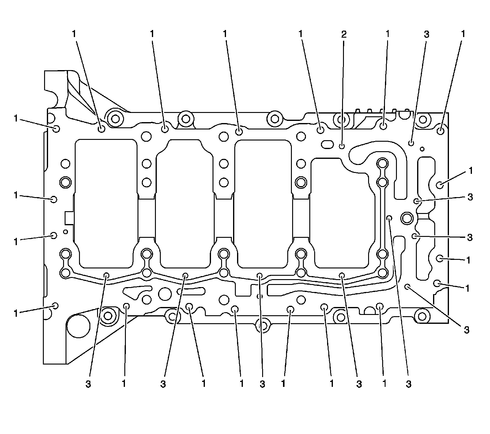
Engine Block Top









Engine Block Left Deck Face









Engine Block Right Deck Face









Engine Block Lower Face









Lower Crankcase Pan Face









Engine Front Cover









Camshaft Position Actuator Housing









Camshaft Covers









#1 Threads are created initially when coil ground strap bolt is installed.

Oil Pan - Left









Oil Pan - Right









Oil Pan - Rear









Oil Pan - Bottom









Charge Air Cooler Housing - Top









Charge Air Cooler Housing - Front









Charge Air Cooler Housing - Rear









Charge Air Cooler Manifold - Front