FREE REPAIR MANUALS & LABOR GUIDES 1982-2013 Vehicles
Courtesy of Operation CHARM: Car repair manuals for everyone.

Cruise Control Module: Service and Repair

REMOVAL PROCEDURE



1. Remove the cruise control cable (3) at the engine bracket and the throttle body cam.




2. Remove the cruise control cable (1) from the module assembly connector (3).
3. Disconnect the electrical connector from the module assembly.




4. Remove the nuts (2) from the mounting studs.




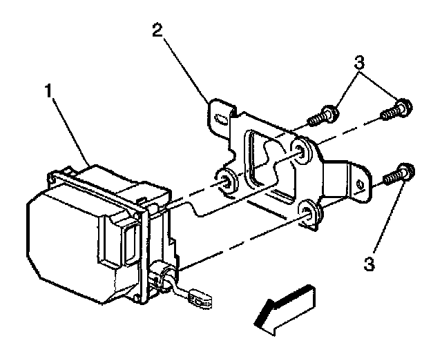
5. Remove the fasteners (3) retaining the cruise control module mounting bracket (2) to the cruise control module (1).
Remove the cruise control module bracket (2) from the module (1).

INSTALLATION PROCEDURE



1. Install the cruise control module (1) to the bracket (2).

NOTE: Refer to Fastener Notice in Cautions and Notices.

2. Install the module to bracket fasteners (3).

Tighten
Tighten the fasteners to 7.5 N.m (66 lb in).




3. Install cruise control module (1) onto the studs on the cowl.
4. Install the two nuts (2).

Tighten
Tighten the bracket retaining nuts to 9 N.m (80 lb in).




5. Connect the electrical connector to the module.
6. Install the cruise control cable (1) to the module assembly connector (3).




7. Install the cruise control cable (3) to the engine bracket and the throttle body cam.
8. Adjust the cruise control cable.