FREE REPAIR MANUALS & LABOR GUIDES 1982-2013 Vehicles
Courtesy of Operation CHARM: Car repair manuals for everyone.

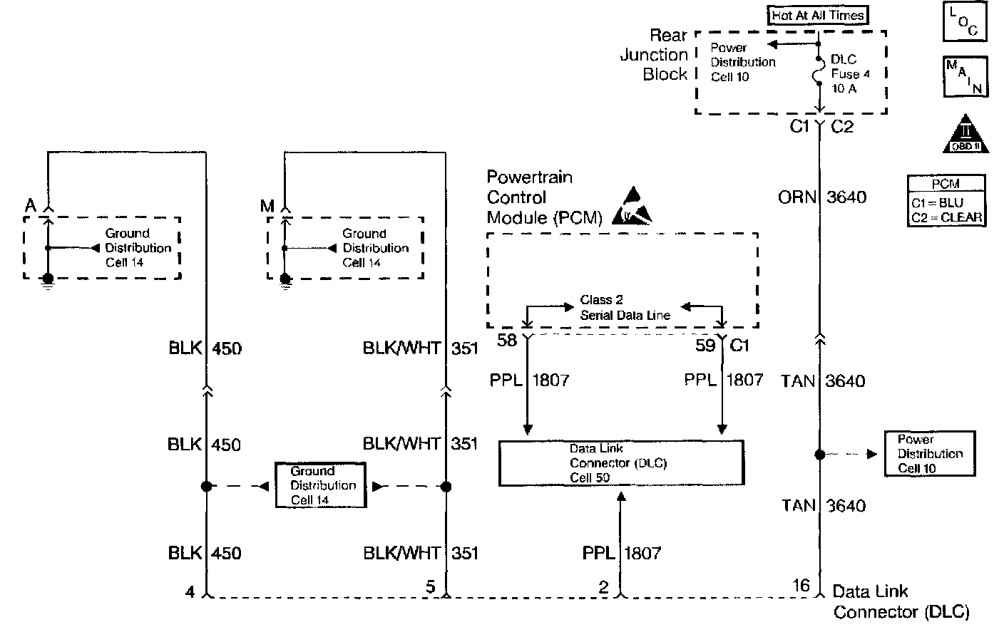
Data Link Connector Diagnosis












Circuit Description

The Data Link Connector check is used to identify the cause of an inoperative scan tool. Possible faults include scan tool non-power up and lack of communication between the scan tool and the PCM. The DLC supplies power to the scan tool through CKT 1740 to terminal 16. The ground to the scan tool is supplied through CKT 51 to terminal 5. The serial data (communication) is supplied to the scan tool through CKT 1807 to terminal 2.

Diagnostic Aids

Perform the A Diagnostic System Check before performing this chart to help prevent mis-diagnosis. Initial Inspection and Diagnostic Overview

Test Description

The number(s) below refer to the step number(s) on the Diagnostic Table:

2. If the ground circuit on the DLC pin 4 opens after the scan tool is up and running, the screen will go blank but the scan tool may remain on. If there is no ground at pin 4 initially, the scan tool will not power up.
8. Some of the older scan tools are powered through a separate power cord from the cigar lighter. If this type of scan tool is being used, and the tool will not power up, check for a poor connection, or a malfunctioning lighter socket. Refer to Diagrams for circuit details.
12. If there is no communication between the PCM and the scan tool, no data will be displayed. The serial data is disrupted when the system voltage is below 9.0 Volts or above 16.0 Volts. A scan tool will not display data if the system voltage is outside of this range. If data is displayed with the ignition on and the engine oft, but data is lost when the engine is running, high system voltage (overcharging) may be at fault. If this is the case, the scan tool should display DTC P0563 System Voltage with the ignition on and the engine off.
14. Try the scan tool on another vehicle if one is available. An alternate approach is to try a different scan tool on the same vehicle, if one is available. Before trying a different scan tool, check for poor connections between the DLC and the scan tool cable. Refer to Wiring Systems for the proper procedure.
17. Before trying a different scan tool, check for poor connections between the DLC and the scan tool cable. Refer to Diagrams for the proper procedure.