Electronic Brake Control Module: Service and Repair
REMOVAL PROCEDURECAUTION: Refer to Battery Disconnect Caution in Service Precautions.
1. Disconnect the negative battery cable.
2. Remove the air cleaner assembly.
3. Raise the vehicle.
IMPORTANT: The EBTCM cannot be repaired. If faulty, replace the EBTCM as an assembly.
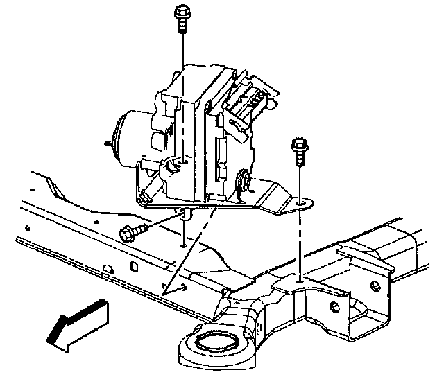
4. Remove the 3 EBTCM/BPMV assembly bracket nuts.
5. Remove the EBTCM electrical connector.
6. Remove the front insulator and insulator mounting bolt.
7. Remove the 4 EBTCM to BPMV bolts.
CAUTION: Do not pry the EBTCM from the BPMV as damage to the seal may result.
8. Separate the EBTCM from the BPMV by gently pulling forward until separated. Be careful not to damage the seal.
INSTALLATION PROCEDURE
1. Raise the vehicle.
2. Clean the seal and BPMV gasket surface with alcohol.
NOTICE: Refer to Fastener Notice in Service Precautions.
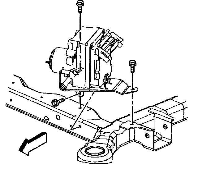
3. Install the EBTCM to the BPMV.
^ Tighten the 4 mounting bolts to 4.5 Nm (40 inch lbs.).
^ Tighten the insulator bolt to 14 Nm (124 inch lbs.).
4. Install the 3 EBTCM/BPMV assembly bracket nuts.
^ Tighten the bracket nuts to 9 Nm (80 inch lbs.).
5. Install the EBTCM electrical connector. Ensure that the EBTCM connector tab is locked down.
6. Install the air cleaner assembly.
CAUTION: Refer to Battery Disconnect Caution in Service Precautions.
7. Connect the negative battery cable.
IMPORTANT: When replacing the EBTCM, Magna Steer must be recalibrated.
8. Perform the ABS Diagnostic System Check.