FREE REPAIR MANUALS & LABOR GUIDES 1982-2013 Vehicles
Courtesy of Operation CHARM
:
Car repair manuals for everyone.
Home
>>
Acura
>>
1998
>>
Integra GS-R Sedan L4-1797cc 1.8L DOHC (VTEC) MFI
>>
Repair and Diagnosis
>>
Starting and Charging
>>
Charging System
>>
Alternator
>>
Testing and Inspection
>>
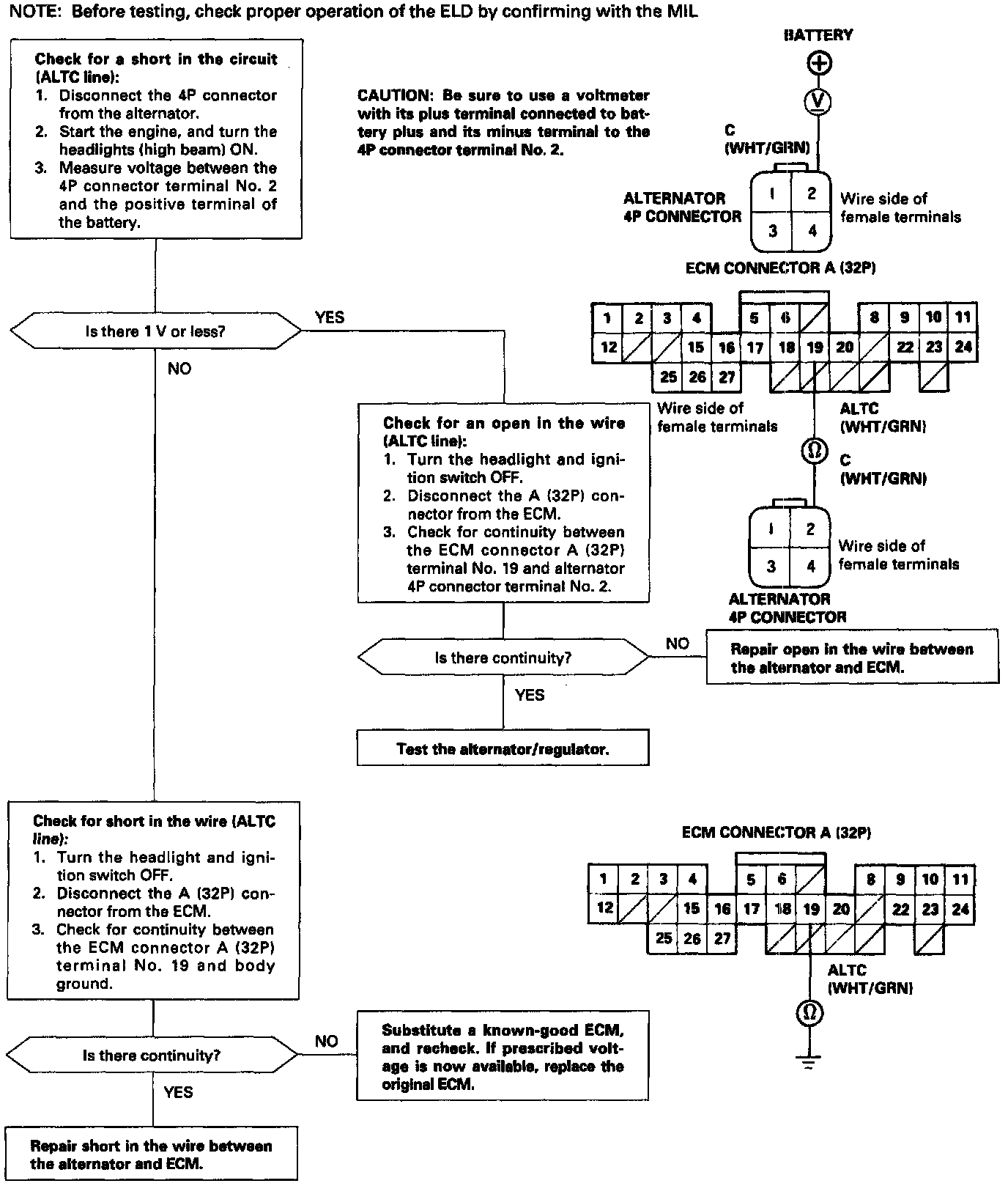
Alternator Control System Test
Alternator Control System Test
Alternator Control System Test: