System Description
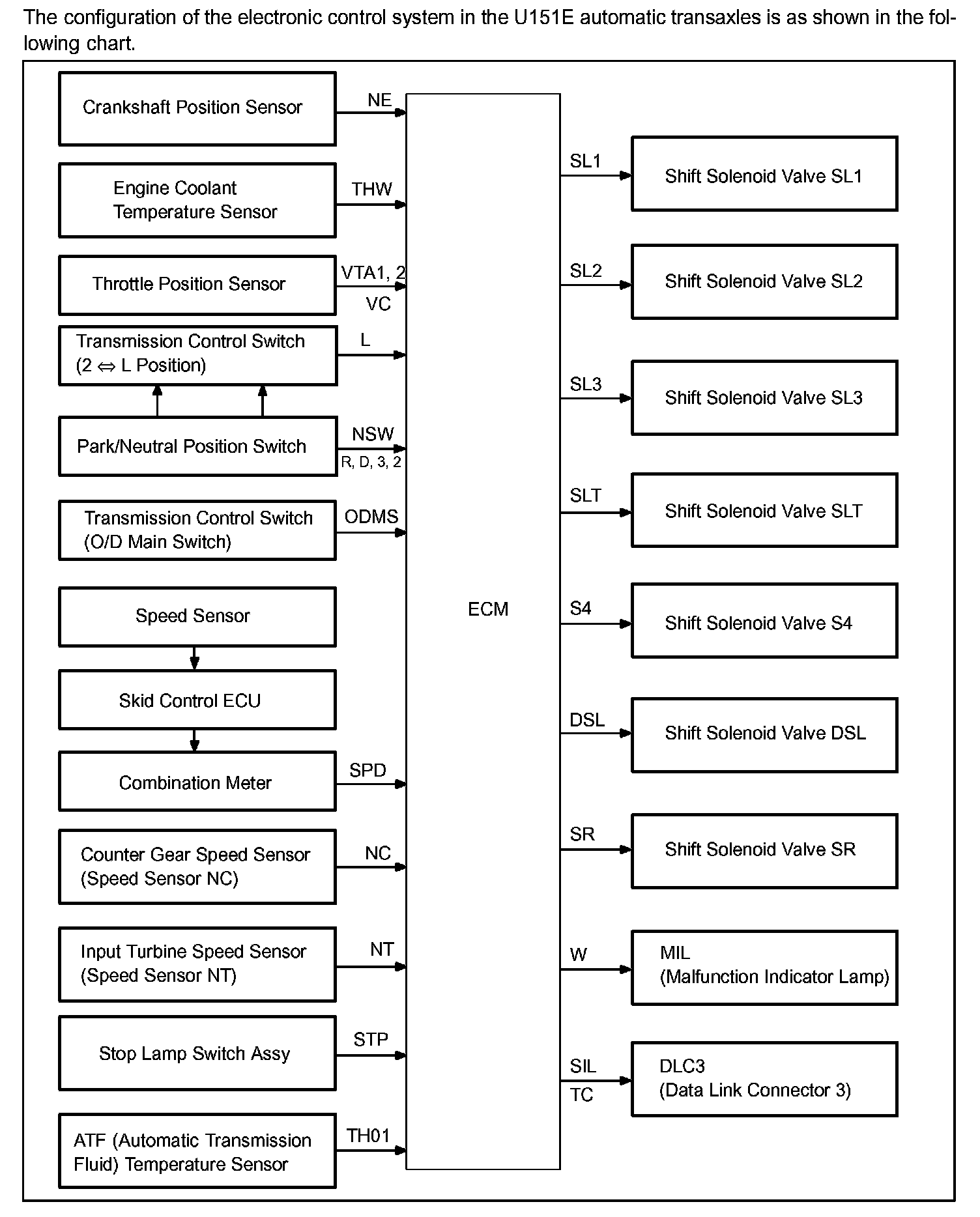
SYSTEM DIAGRAM
SYSTEM DESCRIPTION
The ECT (Electronic controlled automatic transmission/transaxle) is an automatic transmission/transaxle that electronically controls shift timing using the ECM. The ECM detects electrical signals that indicate engine and driving conditions, controls the shift point, and selects the appropriate shift pattern based on driver habits and road conditions. As a result, fuel efficiency and power transmission/transaxle performance are improved.
Shift shock has been reduced by controlling the engine and transmission/transaxle simultaneously.
In addition, the ECT has the following features:
- Diagnostic function.
- Fail-safe function