FREE REPAIR MANUALS & LABOR GUIDES 1982-2013 Vehicles
Courtesy of Operation CHARM: Car repair manuals for everyone.

System Specifications

SPECIFICATIONS

















NOTE: STD: Standard I.D.: Inner Diameter O.D.: Outer Diameter OS: Oversize US: Undersize





TIMING BELT








CYLINDER HEAD AND CAMSHAFT





CYLINDER HEAD AND VALVE ASSEMBLY





CYLINDER BLOCK





CRANKSHAFT AND PISTON





ENGINE MOUNTING








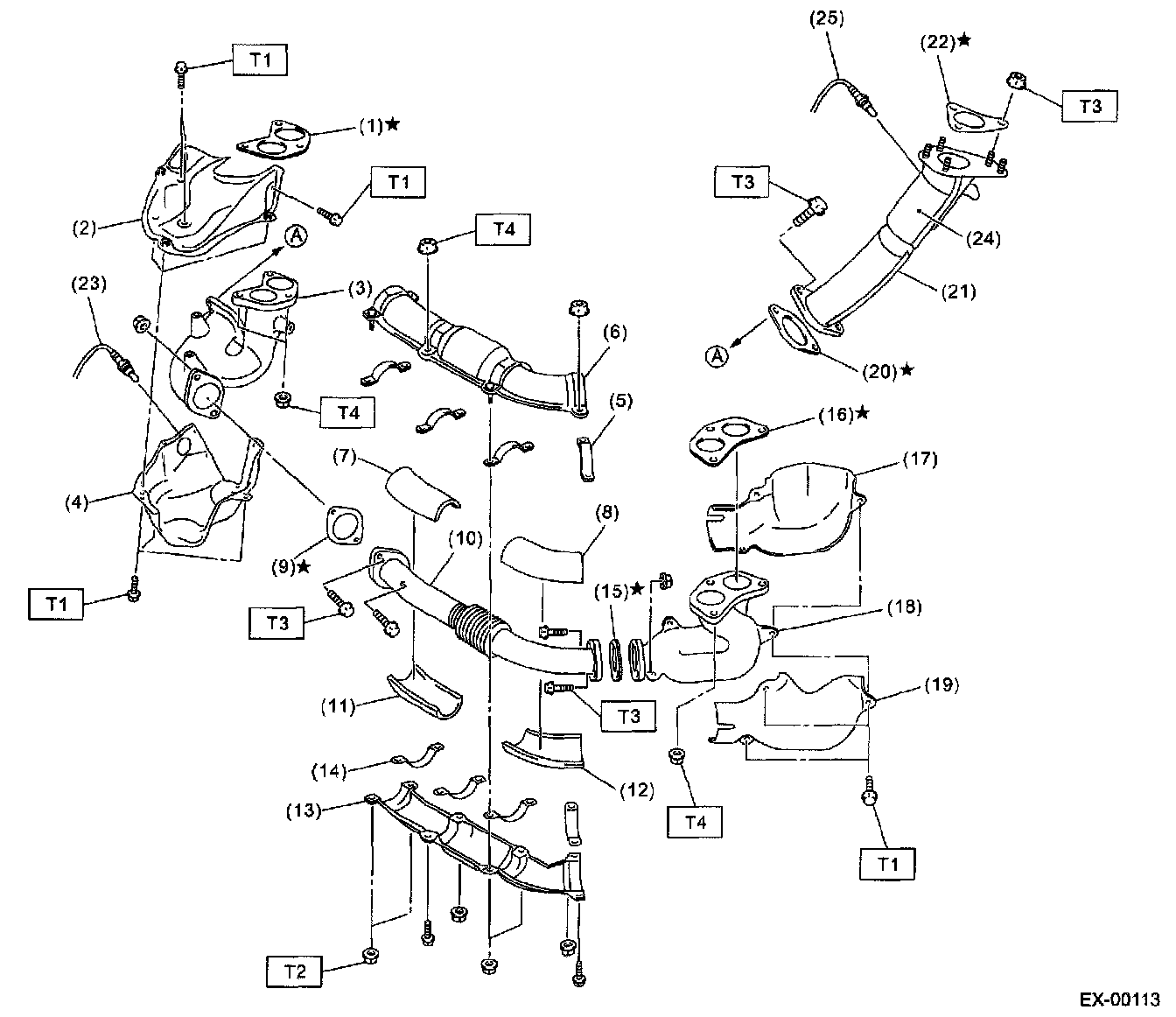
FRONT EXHAUST PIPE





WATER PUMP

Crankshaft Pulley Bolt
Stage 1 44 Nm (4.5 kgf-m, 33 ft. lbs.)
Stage 2 127 Nm (13 kgf-m, 94.0 ft. lbs.)
Stage 3 angle 45 degrees or more





Front belt cover bolts:
Bolts (C) 5 Nm (0.5 kgf-m, 3.6 ft. lbs.)
Bolts (B) 5 Nm (0.5 kgf-m, 3.6 ft. lbs.)
Bolts (A) 5 Nm (0.5 kgf-m, 3.6 ft. lbs.)
Camshaft Sprocket bolt 98 Nm (10 kgf-m, 72.4 ft. lbs.)








Camshaft bolts (tighten in alphabetical sequence in two stages).

T1 (a, b) 10 Nm (1.0 kgf-m, 7.2 ft. lbs.)
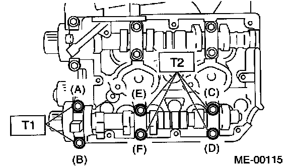
T2 (c,d, e, f) 20 Nm (2.0 kgf-m, 14.5 ft. lbs.)





Cylinder head bolts:
1) Apply a coat of engine oil to washers and bolt threads.
2) Tighten all bolts in sequence to 29 Nm (3.0 kgf-m, 22 ft. lbs.)
3) Retighten all bolts in sequence to 69 Nm (7.0 kgf-m, 51 ft. lbs.)
4) Back off all bolts by 180° first, then back them off a further 180°, in the reverse sequence they were tightened.
5) Tighten all bolts in sequence to 39 Nm (4.0 kgf-m, 29 ft. lbs.)
6) Tighten all bolts in sequence to 80 - 90°
7) Tighten all bolts in sequence a further 40 - 45°

NOTE: Do not tighten bolts for more than 45°.

8) Tighten bolt (A) and (B) a further 40 - 45°.

NOTE: Make sure the sum of retightening angles in previous steps has not exceeded 90°.





Connecting rod cap nuts





Cylinder block connecting bolts:
1) 10 mm bolts 15 Nm (1.5 kgf-m, 10.8 ft. lbs.)





2) 10 mm bolts 15 Nm (1.5 kgf-m, 10.8 ft. lbs.)





3) Side bolts (A) - (D) 90°





4) Side bolts (E)-(J) 90°





5) 8 mm and 6 mm:
(A)-(G) 25 Nm (2.5 kgf-m, 18.1 ft. lbs.)
(H) 6.4 Nm (0.65 kgf-m, 4.7 ft. lbs.)
Oil Pump 6.4 Nm (0.65 kgf-m, 4.7 ft. lbs.)

Intake Manifold 25 Nm (2.5 kgf-m, 18.1 ft-lb)