FREE REPAIR MANUALS & LABOR GUIDES 1982-2013 Vehicles
Courtesy of Operation CHARM: Car repair manuals for everyone.

Front Disc Brake Assembly

Front Disc Brake Assembly

REMOVAL
15 INCH TYPE & 16 INCH TYPE

Important: Do not allow brake fluid to come in contact with vehicle body; wash away with water and wipe off completely if spilled.

Set the vehicle on a lift.
Loosen the wheel nuts.
Lift-up the vehicle, and then remove the front wheel.
Remove the union bolt, and then disconnect the brake hose from caliper body assembly.





Remove the bolt securing lock pin to caliper body.





Raise the caliper body, and then move it toward vehicle center to separate it from support.
Remove the support from housing.

Note: Remove the support only when replacing it or the rotor. It need not be removed when servicing the caliper body assembly.





Clean mud and foreign particles from the caliper body assembly and support.

INSTALLATION
15 INCH TYPE & 16 INCH TYPE
Install the support on housing.
Tightening torque: 80 Nm (8.2 kgf-m, 59 ft. lbs.)
Apply thin coat of Molykote AS880N (Part No. 32005001) to the frictional portion between pad and pad clip.
Apply thin coat of Molykote AS880N (Part No. 32005001) to the frictional portion between pad and inner shim.





Install the pads on support.
Install the caliper body on support.
Tightening torque: 26.5 Nm (2.7 kgf-m, 19.5 ft. lbs.)
Replace the brake hose gaskets with new ones, and then connect the brake hose.
Tightening torque: 18 Nm (1.8 kgf-m, 13.0 ft. lbs.)
Bleed air from the brake system.

DISASSEMBLY
15 INCH TYPE & 16 INCH TYPE
Clean mud and foreign particles from the caliper body assembly and support.

Important: Be careful not to allow foreign particles to enter the brake hose connector.

Place a wooden block in caliper body as shown in the figure to prevent the piston from jumping out and avoid being damaged.
Gradually supply compressed air via the installation hole of brake hose to force the piston out.





(1) Place a 30 mm (1.18 inch) wide wooden block here.

Remove the piston boot.





Remove the piston seal from caliper body cylinder.

Important: Do not damage the cylinder and piston seal groove.





(1) Piston seal

Remove the guide pin and boot from caliper body.

ASSEMBLY
15 INCH TYPE & 16 INCH TYPE
Clean the caliper body interior using brake fluid.
Apply a coat of brake fluid to the piston seal and fit piston seal in groove on caliper body.
Apply a coat of brake fluid to the entire inner surface of cylinder and outer surface of piston.
Apply a coat of specified grease to the boot and install the piston boot to the groove on ends of cylinder.
Grease: NIGLUBE RX-2 (Part No. 32005002)
Insert the piston into cylinder.

Important: Do not force the piston into cylinder.





(1) Piston
(2) Piston boot

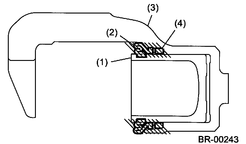
Position the boot in grooves on cylinder and piston.





(1) Piston
(2) Piston boot
(3) Caliper body
(4) Piston seal

Apply a coat of specified grease to the lock pin and guide pin outer surface, cylinder inner surface, and boot grooves.
Grease: NIGLUBE RX-2 (Part No. 32005002)
Install the lock and guide pin boot on support.





(1) Pin boot
(2) Lock pin or guide pin
(3) Apply grease.