FREE REPAIR MANUALS & LABOR GUIDES 1982-2013 Vehicles
Courtesy of Operation CHARM: Car repair manuals for everyone.

Back Window Glass: Service and Repair



Rear Window Replacement

Removal Procedure






Notice: Refer to Battery Disconnect Caution in Service Precautions.

1. Disconnect the negative battery cable.
2. Turn the pump bypass valve assembly to the open position, fully clockwise.
3. Remove the right and left quarter trim panels.
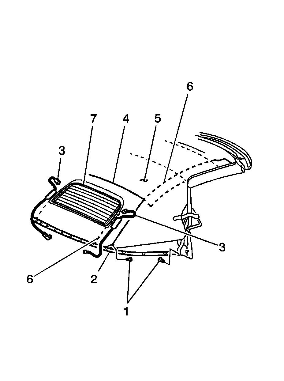
4. Remove the bolts/screws (1) connecting the headlining trim finish panel elastic tension straps to the number 5 bow assembly (2).
5. Disconnect the electrical connectors from the rear window defogger (3).
6. Remove the nuts from the number 5 bow assembly (2).
7. Reposition the number 5 bow assembly (2) to allow easier access to the rear window (7) and number 4 bow assembly (4).
8. Remove the bolt/screw attaching the rear window assembly (7) to the number 4 bow assembly (4).
9. Remove the staples attaching the cover assembly (5), rear window assembly (7), and number 4 (4) and 5 bow position pad assemblies to the number 5 bow assembly (2). Mark the position of all assemblies and staples.
10. Remove the rear window assembly (7) from the channel in the number 4 bow assembly (4).

Installation Procedure




1. Install the rear window assembly (7) into the channel in the number 4 bow assembly (4).
2. Install the staples attaching the cover assembly (5), rear window assembly (7), and number 4 (4) and 5 (2) bow position pad assemblies to the original positions on the number 5 bow assembly.
3. Install the bolt/screw attaching the rear window assembly (7) to the number 4 bow assembly (4).
4. Install the number 5 bow assembly (2) onto the retainer weld studs.
5. Install the retainer nuts onto the number 5 bow (2) mounting studs.
6. Connect the electrical connectors (3) to the rear window defogger.
7. Install the bolts/screws attaching the headlining trim finish panel elastic tension (6) straps to the number 5 bow assembly (2).
8. Install the right and left quarter trim panels.
9. Turn the pump bypass valve assembly to the closed position, fully counterclockwise.
10. Connect the negative battery cable.