FREE REPAIR MANUALS & LABOR GUIDES 1982-2013 Vehicles
Courtesy of Operation CHARM: Car repair manuals for everyone.

Automatic Transmission/Transaxle








Transmission Major Component Locations






Electronic Component Locations






Case and Associated Parts (1 of 3)









Case and Associated Parts (2 of 3)









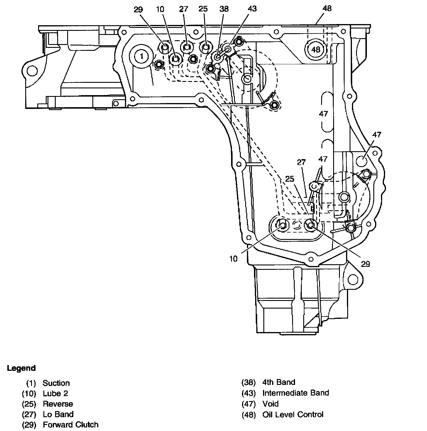
Case and Associated Parts (3 of 3)






Oil Pump Assembly









Control Valve Body Assembly






Driven Sprocket Support Assembly and 2nd Clutch






Reverse Input Clutch Assembly






Direct and Coast Clutch Assemblies






Reaction Carrier Assembly






Input Carrier Assembly






Input Internal Gear and Forward Clutch Hub






Forward Clutch Assembly






Forward Clutch Support Assembly






Final Drive and Differential Assembly






Manual Shaft, Parking Pawl and Actuator Assembly






Bushing, Bearing and Washer Locations






Seal Locations






Leak Inspection Points






Oil Pump Base Fluid Passages (Control Valve Body Side)






Control Valve Body Fluid Passages (Oil Pump Base Side)









Control Valve Body Fluid Passages (Channel Plate Side)









Control Valve Body to Spacer Plate Gasket









Spacer Plate









Spacer Plate to Channel Plate Gasket









Channel Plate Fluid Passages (Control Valve Body Side)






Channel Plate Fluid Passages (Case Side)






Channel Plate to Case Gasket






Case and Driven Sprocket Support Fluid Passages (Channel Plate Side)






Case Fluid Passages (Bottom)